LEMON Manuals: Even more car manuals for everyone
Home >> Kia >> 2016 >> Soul Base, Standard Trans >> Repair and Diagnosis >> Transmission >> Transmission Control Systems >> Manual Transaxle Control System - 1.6L >> Shift Lever >> Repair Procedures >> Removal

Repair Procedures: Removal

  1. Rotating counter-clockwise shift lever knob (A).
    G11950295Courtesy of
  2. Remove the floor console assembly.

    (Refer to "FLOOR CONSOLE .")

  3. Remove the rear heating joint duct (A).
    G11950296Courtesy of
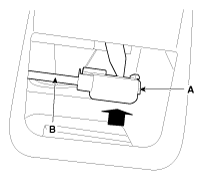
  4. Remove the bracket (A).
    G11950297Courtesy of
  5. Remove the select cable (B) after removing the snap pin (A).
  6. Remove the cable socket (C) from lever assembly after pulling in the direction of the arrow.
    G11950298Courtesy of
  7. Remove the shift cable (B) after removing the clip (A).
    G11950299Courtesy of
  8. Remove the cable socket (A) from lever assembly after pulling in the direction of the arrow.
    G11950300Courtesy of
  9. Remove the shift lever assembly (B) by removing the bolts (A).

    Tightening torque: 

    8.8 ~ 13.7 N.m (0.9 ~ 1.4 kgf.m, 6.5 ~ 10.1 lb-ft)

    G11950301Courtesy of