LEMON Manuals: Even more car manuals for everyone
Home >> Kia >> 2016 >> K900 V6 >> Repair and Diagnosis >> Engine Performance >> Engine Control Systems >> Engine Control System - 3.8L >> Engine Control Module (ECM) >> Repair Procedures >> Removal

Repair Procedures: Removal

  1. Turn Ignition Switch OFF and disconnect the battery negative (-) terminal.
  2. Remove the cover.
  3. Disconnect the ECM connector (A) and the TCM connector (B).
    Fig 1: Locating ECM Connector And TCM Connector
    G11804919Courtesy of KIA MOTORS AMERICA, INC.
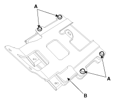
  4. Remove the ECM & TCM bracket mounting bolts (A) and nut (B).
    Fig 2: Locating ECM, TCM Bracket Mounting Bolts And Nut
    G11804920Courtesy of KIA MOTORS AMERICA, INC.
  5. After removing the mounting bolts (A), remove the ECM (B) from the bracket.
Fig 3: Locating ECM And Mounting Bolts
G11804921Courtesy of KIA MOTORS AMERICA, INC.