LEMON Manuals: Even more car manuals for everyone
Home >> Kia >> 2016 >> Forte5 SX, Standard Trans >> Repair and Diagnosis >> Engine Performance >> Engine Control Systems >> Engine Control/Fuel System - General Information - 1.6L >> Troubleshooting >> Basic Troubleshooting >> Electrical Circuit Inspection Procedure

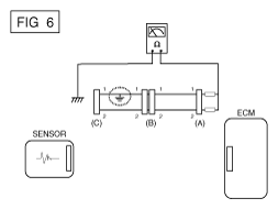
Electrical Circuit Inspection Procedure