LEMON Manuals: Even more car manuals for everyone
Home >> Kia >> 2016 >> Forte5 SX, Standard Trans >> Repair and Diagnosis >> Engine Performance >> Engine Control Systems >> Engine Control System - 1.6L >> Engine Control Module (ECM) >> Repair Procedures >> Removal

Repair Procedures: Removal

NOTE: When replacing the ECM, the vehicle equipped with immobilizer must be performed the procedure as below.
[In the case of installing used ECM] 
  1. Perform "Neutral mode" procedure with GDS. (Refer to IMMOBILIZER SYSTEM )
  2. Insert the key and turn it to the IGN ON and OFF position. Then the ECM key register process is completed automatically.

[In The Case Of Installing New ECM] 
  • Insert the key and turn it to the IGN ON and OFF position.

Then the ECM key register process is completed automatically.
  1. Turn ignition switch OFF and disconnect the battery negative (-) terminal.
  2. Disconnect the ECM Connector (A).
    Fig 1: Locate ECM Connector
    G11794839Courtesy of KIA MOTORS AMERICA, INC.
  3. Remove the battery (Refer to Battery And The Battery Tray Removal )
  4. Remove the mounting bolts and nut, and then remove the ECM assembly (A).
    Fig 2: Remove ECM Assembly Mounting Bolts And Nut
    G11794840Courtesy of KIA MOTORS AMERICA, INC.
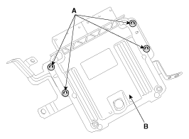
  5. Remove the ECM (B) after removing 4 nuts (A) from the bracket.
Fig 3: Locate ECM Removing Bolts
G11794841Courtesy of KIA MOTORS AMERICA, INC.