LEMON Manuals: Even more car manuals for everyone
Home >> Kia >> 2014 >> Optima EX >> Repair and Diagnosis >> External Pages >> Different variant/trim >> Section 14 (Front Axle Assembly - Optima HEV) >> Front Hub/Knuckle >> Repair Procedures >> Disassembly

Repair Procedures: Disassembly

WARNING: This page is about a different variant/trim than selected.
  1. Remove the snap ring (A).
    Fig 1: Snap Ring
    G08308169Courtesy of KIA MOTORS AMERICA, INC.
  2. Remove the hub assembly from the knuckle assembly.
    1. Install the front knuckle assembly (A) on press.
    2. Lay a suitable adapter (B) upon the hub assembly shaft.
      Fig 2: Knuckle Assembly & Adapter
      G08308170Courtesy of KIA MOTORS AMERICA, INC.
  3. Remove the hub bearing inner race from the hub assembly.
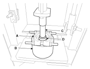
    1. Install a suitable tool (A) for removing the hub bearing inner race on the hub assembly.
    2. Lay the hub assembly and tool (A) upon a suitable adapter (B).
    3. Lay a suitable adapter (C) upon the hub assembly shaft.
    4. Remove the hub bearing inner race (D) from the hub assembly by using press.
      Fig 3: Inner Race, Adapter & Tools
      G08308171Courtesy of KIA MOTORS AMERICA, INC.
  4. Remove the hub bearing outer race from the knuckle assembly.
    1. Lay the hub assembly (A) upon a suitable adapter (B).
    2. Lay a suitable adapter (C) upon the hub bearing outer race.
    3. Remove the hub bearing outer race from the knuckle assembly by using press.
      Fig 4: Hub Assembly & Adapters
      G08308172Courtesy of KIA MOTORS AMERICA, INC.
  5. Replace hub bearing with a new one.