LEMON Manuals: Even more car manuals for everyone
Home >> Kia >> 2013 >> Soul Base, Automatic Trans >> Repair and Diagnosis >> External Pages >> Different car >> Section 65 (Smart Key System) >> Smart Key Unit >> Repair Procedures >> Removal >> Interior 2 Antenna

Interior 2 Antenna

WARNING: This page is about a different car, the 2013 Kia Sportage and 2012 Kia Sportage. However, it is still accessible from the selected car via links, so may be relevant.
  1. Disconnect the negative (-) battery terminal.
  2. Remove the floor console rear panel (A) using the appropriate tool.
    Fig 1: Identifying Floor Console Rear Panel
    G07426747Courtesy of KIA MOTORS AMERICA, INC.
    NOTE: Take care not to damage and scratch the floor console rear panel and its related parts.
    Take care not to damage the hook when removing the floor console rear panel.
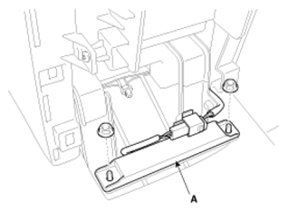
  3. After loosening the antenna nuts (2 EA) and connector, remove the interior 2 antenna (A).
Fig 2: Identifying Interior 2 Antenna
G07426748Courtesy of KIA MOTORS AMERICA, INC.
NOTE: Release the connector lock (A) as indicated by the arrow, and then push-down the lock.

Make sure the connector is locked completely when installing.

Fig 3: Releasing Connector Lock
G07426749Courtesy of KIA MOTORS AMERICA, INC.