LEMON Manuals: Even more car manuals for everyone
Home >> Kia >> 2013 >> Soul Base, Automatic Trans >> Repair and Diagnosis >> External Pages >> Different car >> Section 65 (Smart Key System) >> Smart Key Unit >> Repair Procedures >> Removal >> Interior 1 Antenna

Interior 1 Antenna

WARNING: This page is about a different car, the 2013 Kia Sportage and 2012 Kia Sportage. However, it is still accessible from the selected car via links, so may be relevant.
  1. Disconnect the negative (-) battery terminal.
  2. Remove the floor console.

    Refer to "CONSOLE ".

  3. After loosening the antenna nuts (2 EA) and connector (B), remove the interior 1 antenna (A).
Fig 1: Identifying Interior 1 Antenna, Antenna Nuts & Connector
G07426745Courtesy of KIA MOTORS AMERICA, INC.
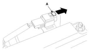
NOTE: Release the connector lock (A) as indicated by the arrow, and then push-down the lock.

Make sure the connector is locked completely when installing.

Fig 2: Releasing Connector Lock
G07426746Courtesy of KIA MOTORS AMERICA, INC.