LEMON Manuals: Even more car manuals for everyone
Home >> Kia >> 2013 >> Soul Base, Automatic Trans >> Repair and Diagnosis >> External Pages >> Different car >> Section 14 (Front Driveshaft Assembly) >> Front Driveshaft >> Repair Procedures >> Reassembly

Repair Procedures: Reassembly

WARNING: This page is about a different car, the 2011 Hyundai Veracruz. However, it is still accessible from the selected car via links, so may be relevant.
  1. Wrap tape around the driveshaft splines (PTJ. side) to prevent damage to the boots.
  2. Apply grease to the driveshaft and install the BJ boots.
  3. Install the bands to both BJ boots.
    Fig 1: Identifying BJ Boots
    G06857164Courtesy of HYUNDAI MOTOR CO.
  4. Using the SST (09495-3K000), secure the boot bands.

    Clearance (A):  2.0 mm (0.079 in.) or less

    Fig 2: Securing Boot Bands
    G06857165Courtesy of HYUNDAI MOTOR CO.
  5. To reassemble the dynamic damper, keeping the shaft in the straight, tighten the dynamic damper with dynamic damper band, as the figure.

    Distance (L):  228.4 ~ 228.6 mm (8.99 ~ 9.00 in)

    Fig 3: Checking Dynamic Damper
    G06857166Courtesy of HYUNDAI MOTOR CO.
  6. Install the PTJ boot bands and PTJ boot.
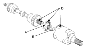
  7. Install the trunion assembly (A) and the circlip (E) to the spline (C) on the driveshaft.

    At this time align the marks (D) each other.

    Fig 4: Identifying Trunion Assembly & Circlip
    G06857167Courtesy of HYUNDAI MOTOR CO.
    Fig 5: Identifying Match Mark
    G06857168Courtesy of HYUNDAI MOTOR CO.
  8. Install the clip to the PTJ case (B).
  9. Add the specified grease to the PTJ as mush as wiped away at inspection.
  10. Install the PTJ boots.
  11. To control the air in the PTJ boot, keep the specified distance between the boot bands when they are tightened.
    BOOT SPECIFICATION

    Distance (A) LH side RH side
    Diesel 3.0, Gasoline 3.8 (mm (in)) 530.5 + 27.9-22.5
    (20.89 + 1.10 -0.89)
    543.5 + 27.9-22.5
    (21.40 + 1.10-0.89)
    Fig 6: Checking Shaft Length
    G06857169Courtesy of HYUNDAI MOTOR CO.
  12. Install the bands to both PTJ boots.
    Fig 7: Installing Bands To PTJ Boots
    G06857170Courtesy of HYUNDAI MOTOR CO.