LEMON Manuals: Even more car manuals for everyone
Home >> Kia >> 2011 >> Soul Base >> Repair and Diagnosis (Single Page) >> Engine Performance >> Engine Control Systems >> Engine Control System - 1.6L >> Engine Control Module (ECM) >> Schematic Diagram >> Circuit Diagram

Circuit Diagram

[A/T] 

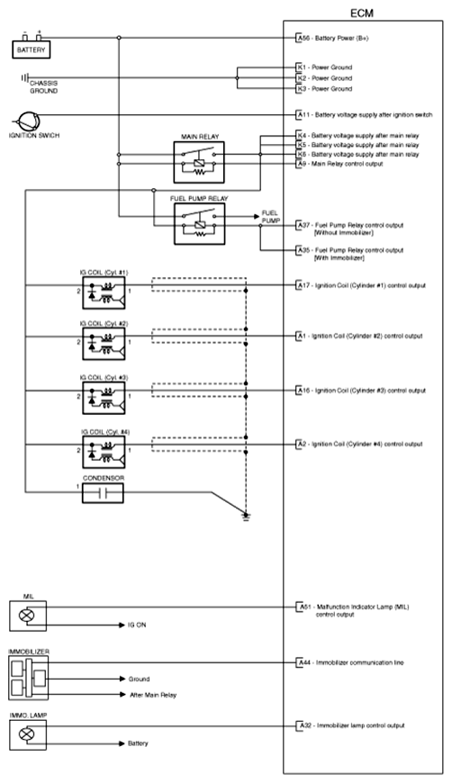
Fig 1: ECM Circuit Diagram - A/T (1 Of 4)
G06526129Courtesy of KIA MOTORS AMERICA, INC.
Fig 2: ECM Circuit Diagram - A/T (2 Of 4)
G06526130Courtesy of KIA MOTORS AMERICA, INC.
Fig 3: ECM Circuit Diagram - A/T (3 Of 4)
G06526131Courtesy of KIA MOTORS AMERICA, INC.
Fig 4: ECM Circuit Diagram - A/T (4 Of 4)
G06526132Courtesy of KIA MOTORS AMERICA, INC.

[M/T] 

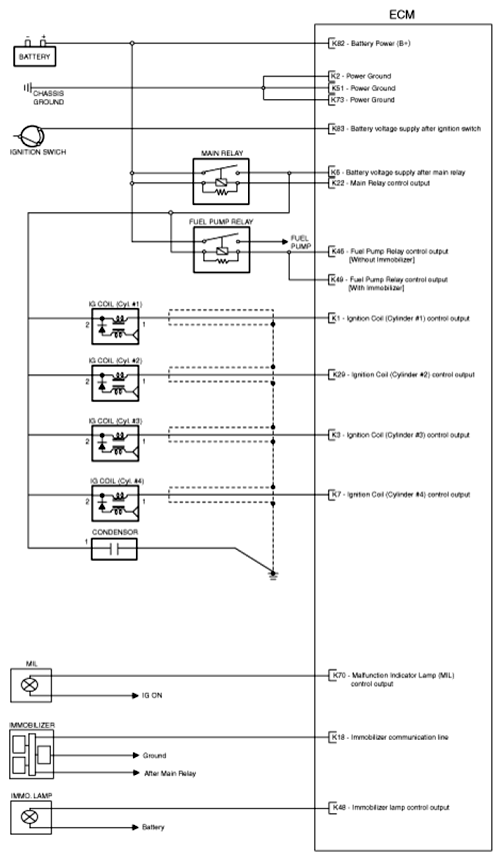
Fig 5: ECM Circuit Diagram - M/T (1 Of 4)
G06526133Courtesy of KIA MOTORS AMERICA, INC.
Fig 6: ECM Circuit Diagram - M/T (2 Of 4)
G06526134Courtesy of KIA MOTORS AMERICA, INC.
Fig 7: ECM Circuit Diagram - M/T (3 Of 4)
G06526135Courtesy of KIA MOTORS AMERICA, INC.
Fig 8: ECM Circuit Diagram - M/T (4 Of 4)
G06526136Courtesy of KIA MOTORS AMERICA, INC.