LEMON Manuals: Even more car manuals for everyone
Home >> Kia >> 2010 >> Sedona Base >> Repair and Diagnosis >> Engine Performance >> Engine Control Systems >> Engine Control System >> Crankshaft Position Sensor (CKPS) >> Repair procedures >> Schematic Diagram

Schematic Diagram

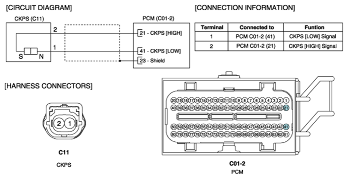
Fig 1: Crankshaft Position Sensor - Schematic Diagram
G06838079Courtesy of KIA MOTORS AMERICA, INC.