LEMON Manuals: Even more car manuals for everyone
Home >> Kia >> 2009 >> Spectra5 2.0 2, Standard >> Repair and Diagnosis >> Steering >> Steering Column >> Steering System >> Steering Column And Shaft >> Disassembly And Reassembly >> Universal Joint Assembly

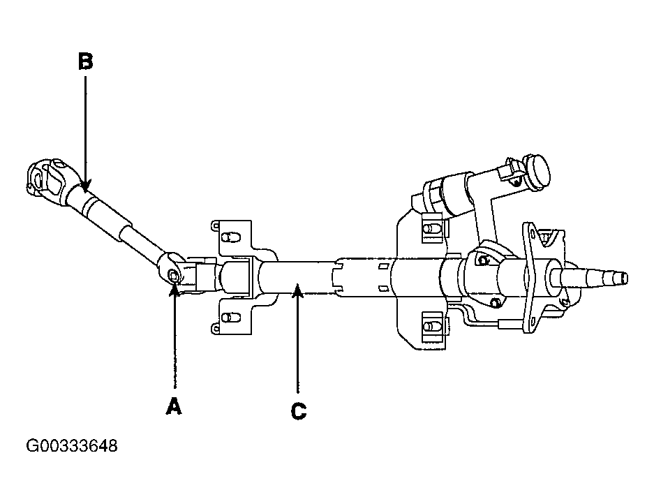
Universal Joint Assembly

  1. Remove the bolt (A) connecting the universal joint assembly (B) and the steering column and shaft assembly (C).
    Fig 1: Identifying Universal Joint Assembly
    G00333648Courtesy of KIA MOTORS AMERICA, INC.
  2. Remove the universal joint assembly (A) from the steering column and shaft assembly (B).
    Fig 2: Removing Universal Joint Assembly From Steering Column/Shaft Assembly
    G00333649Courtesy of KIA MOTORS AMERICA, INC.
  3. Reassembly is the reverse of disassembly.