LEMON Manuals: Even more car manuals for everyone
Home >> Kia >> 2009 >> Sorento Base, A5SR2 >> Repair and Diagnosis >> Engine Performance >> Engine Control Systems >> Engine Control System >> Engine Control Module (ECM) >> Repair Procedures >> Replacement

Repair Procedures: Replacement

  1. Turn ignition switch off.
  2. Disconnect the battery (-) cable from the battery.
  3. Remove the resonator (A).
    Fig 1: Identifying Resonator
    G06408043Courtesy of KIA MOTORS AMERICA, INC.
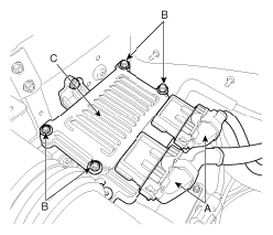
  4. Disconnect the ECM connectors (A).
    Fig 2: Identifying ECM Connectors And ECM Mounting Bolts
    G06408044Courtesy of KIA MOTORS AMERICA, INC.
  5. Unscrew the ECM mounting bolts (B) and remove the ECM from the bracket (C).
  6. Install new ECM

    ECM installation bolts: 9.8 ~ 11.8 N.m (1.0 ~ 1.2 kgf.m, 7.2 ~ 8.7 lbf.ft)