LEMON Manuals: Even more car manuals for everyone
Home >> Kia >> 2009 >> Sedona Base >> Repair and Diagnosis >> Engine Performance >> Engine Control Systems >> Gasoline Engine Control System >> Crankshaft Position Sensor (CKPS) >> Description >> Schematic Diagram

Schematic Diagram

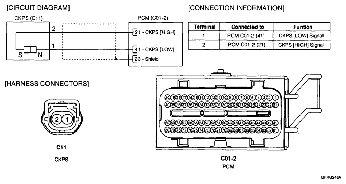
Fig 1: Crankshaft Position Sensor (CKPS) Schematic Diagram
G04883206Courtesy of KIA MOTORS AMERICA, INC.