LEMON Manuals: Even more car manuals for everyone
Home >> Kia >> 2009 >> Sedona Base >> Repair and Diagnosis >> Engine Performance >> Engine Control Systems >> Gasoline Engine Control System >> CVVT Oil Temperature Sensor (OTS) >> Description >> Schematic Diagram

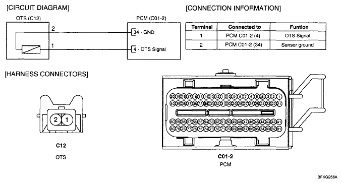
Schematic Diagram

Fig 1: CVVT Oil Temperature Sensor (OTS) Schematic Diagram
G04883219Courtesy of KIA MOTORS AMERICA, INC.