LEMON Manuals: Even more car manuals for everyone
Home >> Kia >> 2009 >> Rio Base, Automatic >> Repair and Diagnosis >> Transmission >> Automatic Trans >> Automatic Transaxle Control System >> Pressure Control Solenoid Valve (PCSV) >> Adjustment >> Notes

Pressure Control Solenoid Valve (PCSV): Adjustment: Notes

  1. Remove the drain plug (A) and drain the automatic transaxle fluid.
    Fig 1: Identifying Drain Plug
    G04862663Courtesy of KIA MOTORS AMERICA, INC.
  2. Remove the oil pan (A).
    Fig 2: Identifying Oil Pan
    G04862664Courtesy of KIA MOTORS AMERICA, INC.
  3. Remove the oil filter (A).
    Fig 3: Identifying Oil Filter
    G04862665Courtesy of KIA MOTORS AMERICA, INC.
  4. Remove the fluid temperature sensor (A).
    Fig 4: Identifying Fluid Temperature Sensor
    G04862666Courtesy of KIA MOTORS AMERICA, INC.
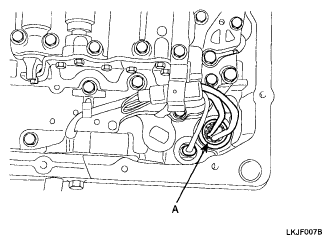
  5. Press the tab of the solenoid valve harness grommet tab (A) and push in.
    Fig 5: Identifying Solenoid Valve Harness Grommet Tab
    G04862667Courtesy of KIA MOTORS AMERICA, INC.
  6. Remove the valve body assembly (A). The manual valve can come out, so be careful not to drop it.
    Fig 6: Identifying Valve Body Assembly
    G04862668Courtesy of KIA MOTORS AMERICA, INC.
  7. Turn the adjustment screw (A) of the regulator valve and adjust so that the line pressure (kickdown brake pressure) reaches the standard value. When the adjustment screw is turned clockwise, the line pressure becomes lower; when it is turned counter-clockwise, it becomes higher.

    Standard value:

    860-900 kPa (122-129 psi, 8.77-9.18 kg/cm2 )

    Oil pressure change for each turn of adjustment screw:

    38 kPa (5.4 psi, 0.39 kg/cm2 )

    Fig 7: Identifying Adjustment Screw
    G04862669Courtesy of KIA MOTORS AMERICA, INC.
  8. Check to be sure that the O-ring is installed on the upper surface of the valve body at the place.
  9. Replace the O-ring (A) of the solenoid valve connector with a new one.
    Fig 8: Identifying O-Rings
    G04862670Courtesy of KIA MOTORS AMERICA, INC.
  10. Install the valve body assembly to the case and then insert the solenoid valve connector into the case. Be sure, at this time, that the notched part of the connector faces. Also be careful that the lead wiring isn't caught.
  11. Tighten the valve body assembly mounting bolts to 10-12 N.m (100-120 kgf.cm, 7-8 lb-ft.
    BOLT LENGTH

    Bolts Length [in (mm)]
    A 0.98 (25)
    B 1.38 (35)
    C 1.57 (40)
  12. Install a new oil pan gasket with the oil pan (A).

    TORQUE: 10-12 N.m (100-120 kgf.cm, 7-8 lb-ft)

    Fig 9: Identifying Oil Pan
    G04862671Courtesy of KIA MOTORS AMERICA, INC.
  13. Pour in the specified amount of automatic transaxle fluid.
  14. Perform the oil pressure test. Readjust if necessary.