LEMON Manuals: Even more car manuals for everyone
Home >> Kia >> 2007 >> Sorento Base, A5SR2 >> Repair and Diagnosis >> Engine Performance >> Engine Control Systems >> Gasoline Engine Control System >> CVVT Oil Control Valve (OCV) >> Inspection >> Schematic Diagram

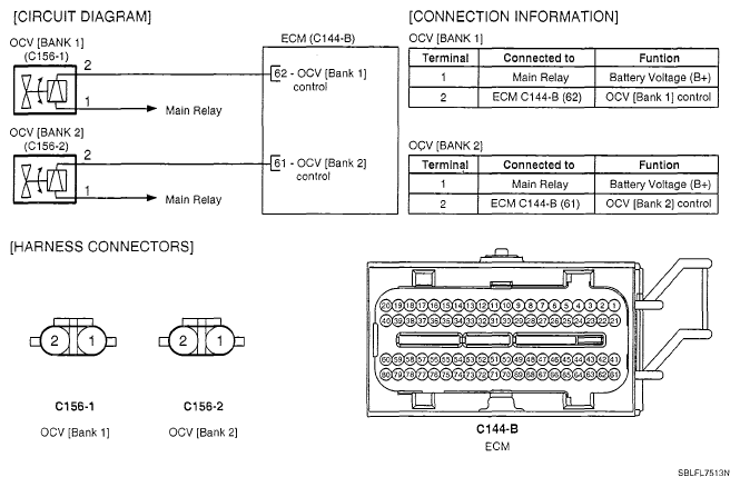
Schematic Diagram

Fig 1: Identifying OCV Connector & Circuit Diagram
G05118339Courtesy of KIA MOTORS AMERICA, INC.