LEMON Manuals: Even more car manuals for everyone
Home >> Kia >> 2007 >> Amanti >> Repair and Diagnosis >> Engine Performance >> Engine Control Systems >> Gasoline Engine Control System >> Variable Intake Solenoid (VIS) Valve >> Schematic Diagram

Schematic Diagram

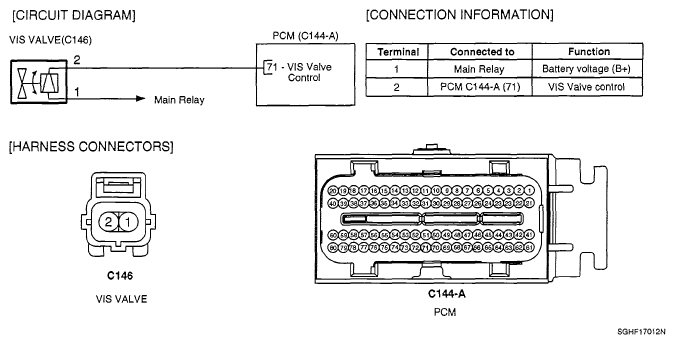
Fig 1: Variable Intake Solenoid Valve - Schematic Diagram
G05116387Courtesy of KIA MOTORS AMERICA, INC.