LEMON Manuals: Even more car manuals for everyone
Home >> Kia >> 2007 >> Amanti >> Repair and Diagnosis >> Engine Performance >> Engine Control Systems >> Gasoline Engine Control System >> Mass Air Flow Sensor (MAFS) >> Schematic Diagram

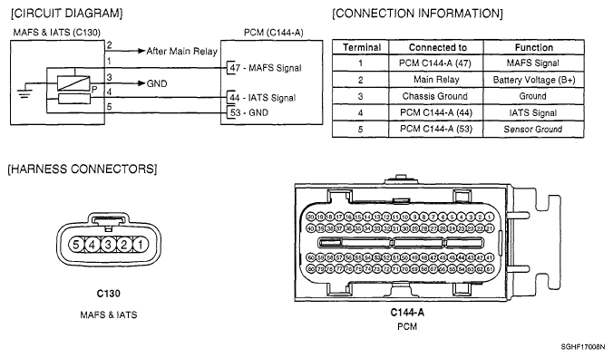
Schematic Diagram

Fig 1: Mass Air Flow Sensor - Schematic Diagram
G05116356Courtesy of KIA MOTORS AMERICA, INC.