LEMON Manuals: Even more car manuals for everyone
Home >> Kia >> 2007 >> Amanti >> Repair and Diagnosis >> Body & Frame >> Body, Cab Control Systems >> Body Control Module >> General Operation & Diagnosis >> Wiper And Washer Control (Rain Sensor) >> Wiper Motor Control For Washer

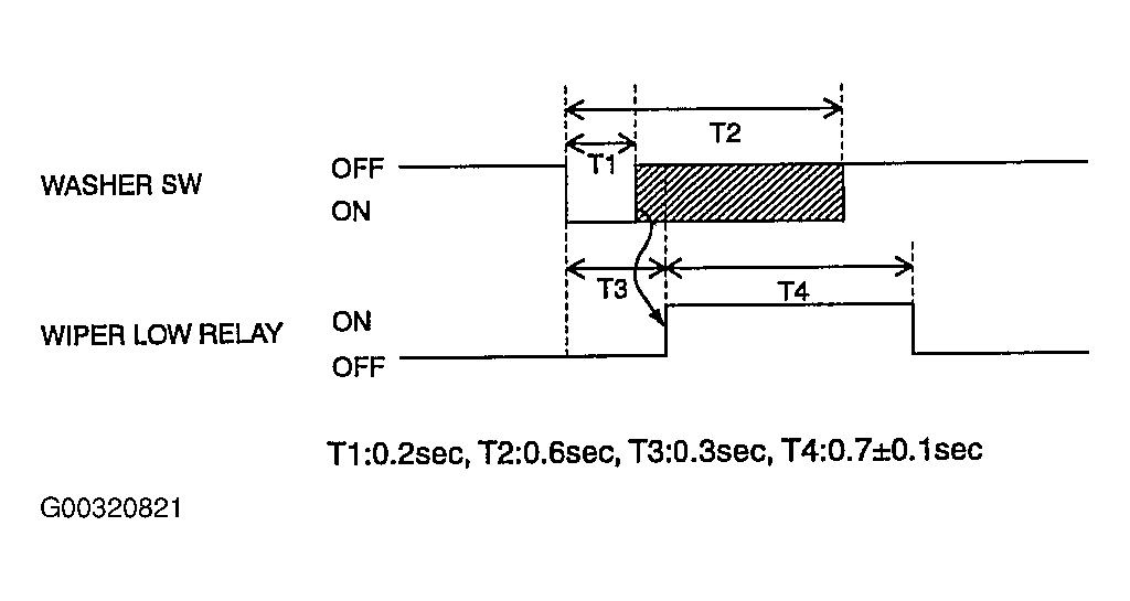
Wiper Motor Control For Washer

  1. Mist mode washing (washer switch input: 0.2-0.6 second)
    1. Washer switch is OFF
    2. If the duration of washer switch input is measured from 0.2 second to 0.6 second.
    3. After T3, the wiper low relay output is ON for 0.7 second. (For 1 Time wiping)
    Fig 1: Mist Mode On/Off Time Chart
    G00320821Courtesy of KIA MOTORS AMERICA, INC.
  2. Nominal mode washing (washer switch input: more than 0.6 second)
    1. Condition 1
      1. Washer switch is OFF
      2. If washer switch is ON more than 0.6 second.
      3. The wiper activation output is on after T3 (0.3 second)
    2. Condition 2
      1. Nominal mode washing and washer switch on
      2. If washer switch is OFF
      3. The wiper motor stops wiper after 2.5-3.8 second later.

        (Wiper low relay is OFF after 3 second later)

    Fig 2: Normal Mode On/Off Time Chart
    G00320822Courtesy of KIA MOTORS AMERICA, INC.
  3. Washer function during wiper intermittent mode
    1. Condition 1
      1. IGN2 SW ON & wiper intermittent mode
      2. If washer switch is ON more than 0.6 second
      3. The wiper activation output is on after T3 (0.3 second.)
    2. Condition 2
      1. Washer mode (During wiper int.)
      2. If washer switch is OFF
      3. The wiper motor will stop wiper after 2.5-3.8 second later.

        (Wiper low relay is OFF after 3 second later) (i.e. Resume wiper int. mode after 2.5-3.8 second)

    3. Condition 3
      1. Wiper intermittent mode
      2. The duration of wiper switch input is measured from 0.2 second to 0.6 second
      3. After T3, the wiper low relay output is ON for 0.7 second.
Fig 3: Washer Function During Wiper Intermittent Mode On/Off Time Chart
G00320823Courtesy of KIA MOTORS AMERICA, INC.