LEMON Manuals: Even more car manuals for everyone
Home >> Kia >> 2005 >> Sedona EX >> Repair and Diagnosis >> Engine Performance >> System >> Engine Control System >> MFI Control System >> Other Control Functions >> Cooling Fan Control >> ECM Output

ECM Output

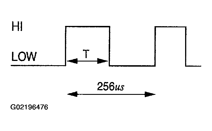
DUTY = T/256 usx 100%

The control to cooling fan is performed in ECM output + duty.

Fig 1: Illustrating ECM Output Voltage
G02196476Courtesy of KIA MOTORS AMERICA, INC.