LEMON Manuals: Even more car manuals for everyone
Home >> Kia >> 2005 >> Optima EX, 2.7 8 >> Repair and Diagnosis >> Engine Performance >> Engine Control Systems >> Engine Control System/Fuel System - 2.7L >> MFI Control System >> Throttle Position Sensor (TPS) >> Notes

Throttle Position Sensor (TPS): Notes

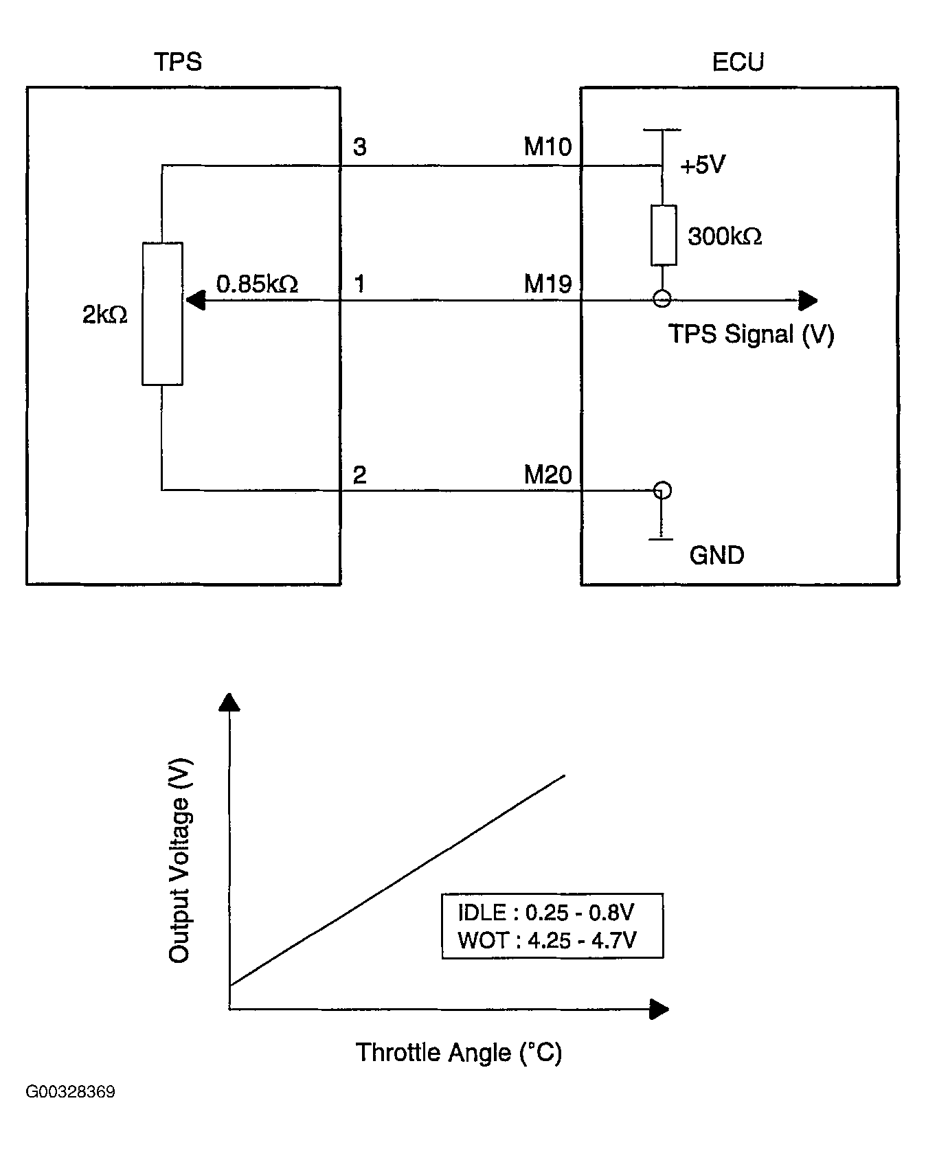
The TPS is a variable resistor type that rotates with the throttle body throttle shaft to sense the throttle valve angle. As the throttle shaft rotates, the output voltage of the TPS changes. The ECU detects the throttle valve opening based on voltage change.

Fig 1: Locating Throttle Position Sensor (TPS)
G00328369Courtesy of KIA MOTORS AMERICA, INC.