LEMON Manuals: Even more car manuals for everyone
Home >> Kia >> 2005 >> Optima EX, 2.4 6 >> Repair and Diagnosis >> Engine Performance >> System >> Engine Control System/Fuel System - 2.4L (A/T) >> MFI Control System >> Ignition Failure Sensor (Ifs) >> Circuit Diagram (Ignition Coil And Ifs)

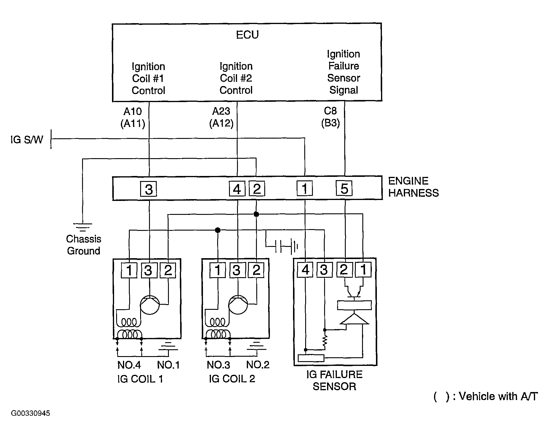
Circuit Diagram (Ignition Coil And Ifs)

Fig 1: Identifying Ignition Failure Sensor (IFS) & Ignition Coil Circuit Diagram
G00330945Courtesy of KIA MOTORS AMERICA, INC.