LEMON Manuals: Even more car manuals for everyone
Home >> Kia >> 2005 >> Optima EX, 2.4 6 >> Repair and Diagnosis >> Engine Performance >> Engine Control Systems >> Engine Control System/Fuel System - 2.4L (A/T) >> MFI Control System >> Idle Speed Control Actuator (ISA) >> Circuit Diagram (ISA)

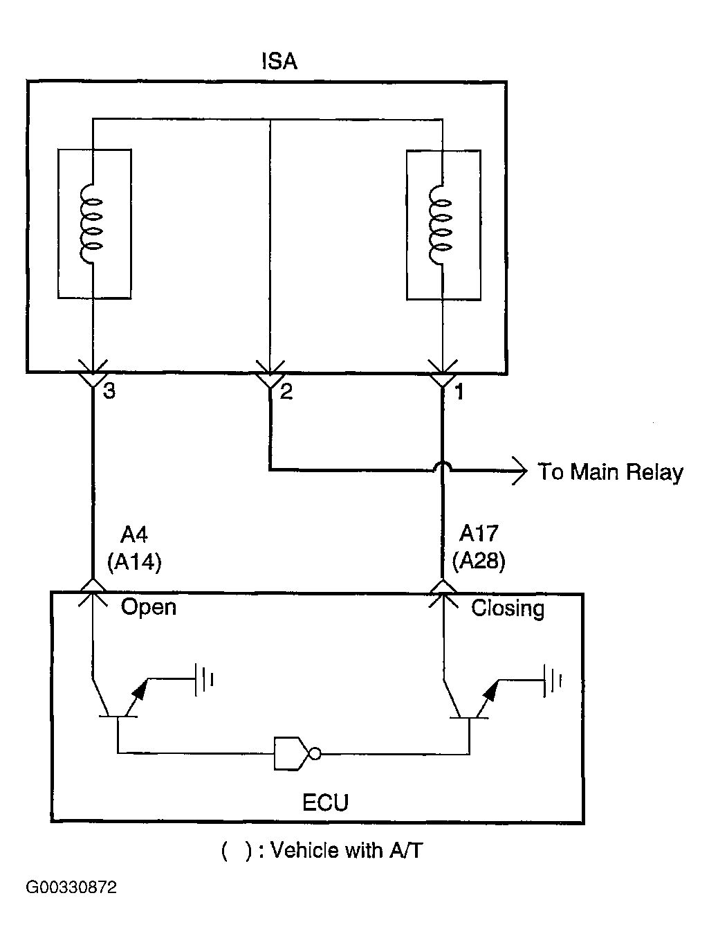
Circuit Diagram (ISA)

Fig 1: Identifying Idle Speed Control Actuator (ISA) Circuit Diagram
G00330872Courtesy of KIA MOTORS AMERICA, INC.