LEMON Manuals: Even more car manuals for everyone
Home >> Kia >> 2005 >> Optima EX, 2.4 6 >> Repair and Diagnosis >> Engine Performance >> Engine Control Systems >> Engine Control System/Fuel System - 2.4L (A/T) >> MFI Control System >> Fuel Injector >> Circuit Diagram (Injector)

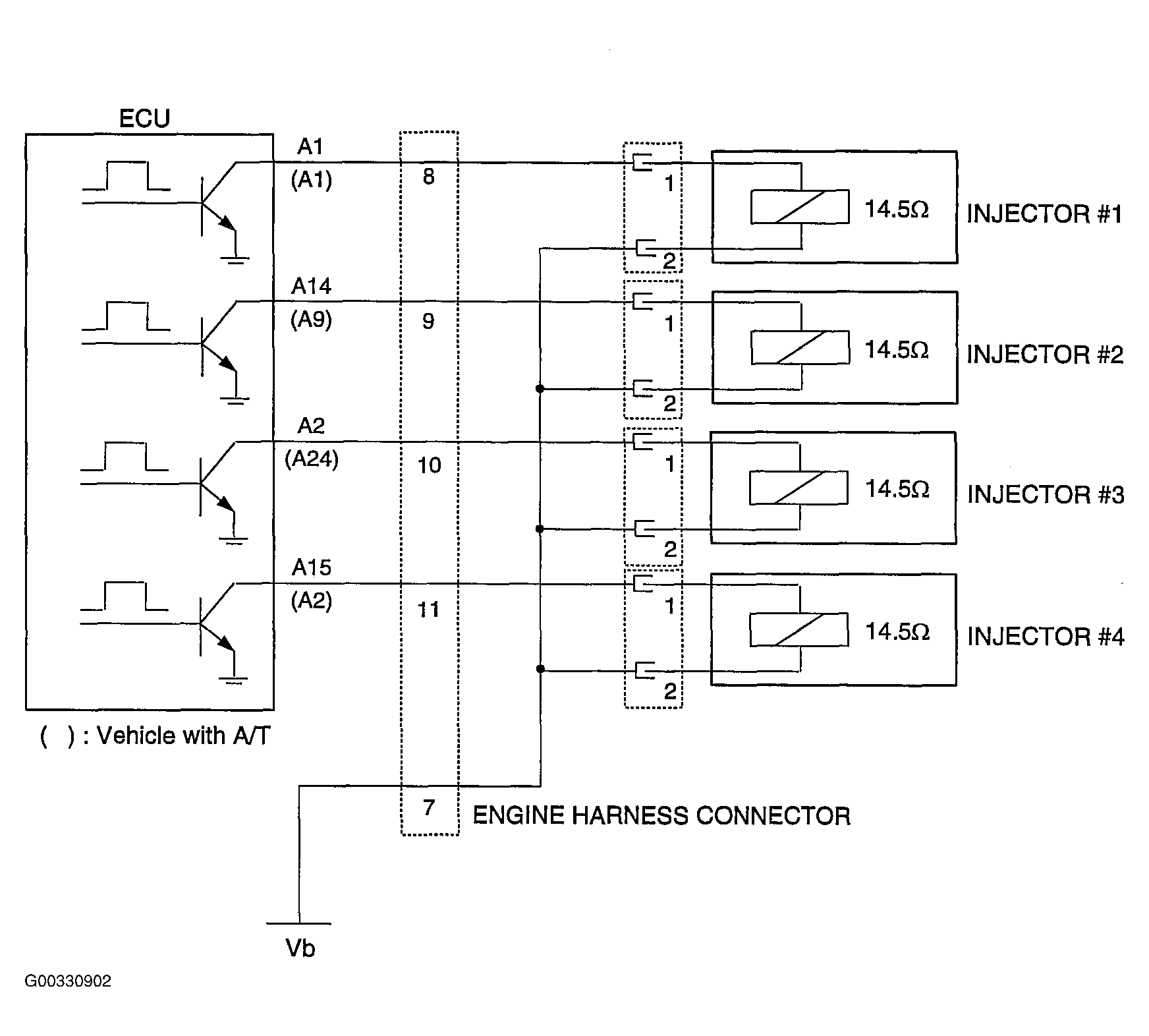
Circuit Diagram (Injector)

Fig 1: Identifying Fuel Injector Circuit Diagrams
G00330902Courtesy of KIA MOTORS AMERICA, INC.