LEMON Manuals: Even more car manuals for everyone
Home >> Kia >> 2004 >> Sedona EX >> Repair and Diagnosis >> Engine Performance >> System >> Emission Control System >> Crankcase Emission Control System >> Components

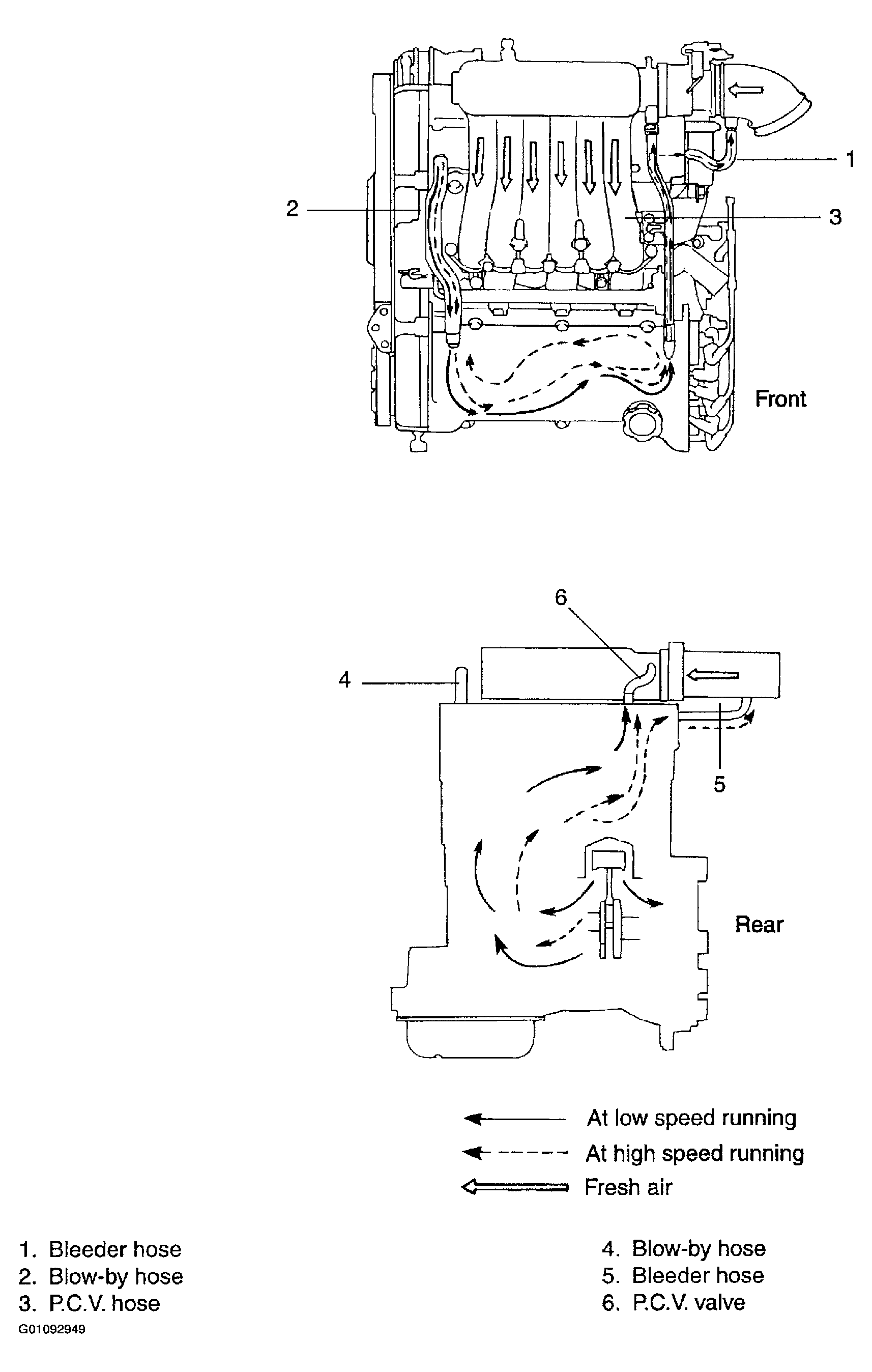
Crankcase Emission Control System: Components

Fig 1: Illustrating Crankcase Emission Control System Components
G01092949Courtesy of KIA MOTORS AMERICA, INC.