LEMON Manuals: Even more car manuals for everyone
Home >> Kia >> 2003 >> Spectra Base, Standard >> Repair and Diagnosis >> Engine Performance >> Ignition System >> Specifications >> Fastener Tightening Specifications

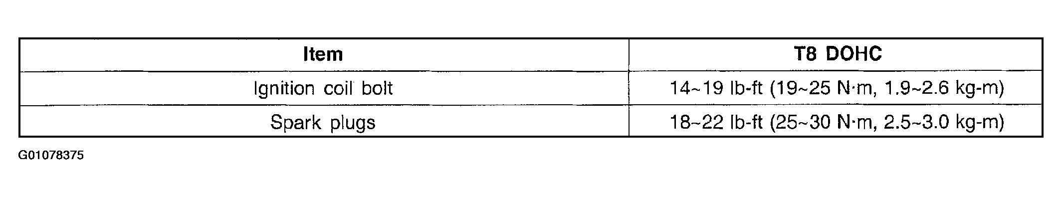
Fastener Tightening Specifications

Fig 1: Tightening Specifications
G01078375Courtesy of KIA MOTORS AMERICA, INC.