LEMON Manuals: Even more car manuals for everyone
Home >> Jeep >> 2023 >> Compass Red >> Repair and Diagnosis (Single Page) >> Quick Lookups >> Electrical Component Locations >> Connector End Views & Electrical Component Locations (3 Of 7) >> Module-Hands Free Liftgate (Standard) Connector End View (D2945A)

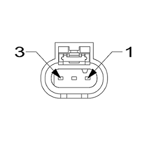
Module-Hands Free Liftgate (Standard) Connector End View (D2945A)

Harness-Family: FASCIA_REAR

Color: BLACK

Gender: FEMALE

Part Number: 805-121-591

Part Description: Not Available

Connector No: D2945A

Option: Standard

Repair Kit Part Number: Not Available

Cavity Count: null

Fig 1: Module-Hands Free Liftgate Connector End View (Standard)
GCWD1225893Courtesy of CHRYSLER
Fig 2: Module-Hands Free Liftgate Component Location (Standard)
GCWD1294191Courtesy of CHRYSLER
Pin Circuit Wire Color Gauge/Size Function Option
1 D403 OG/DB 0.50 LIN BUS CBC 3 N/A
2 A935 RD 0.50 FUSED B(+) N/A
3 Z923 BK 0.50 GROUND N/A
(1) Pins not listed are not used for this connector