LEMON Manuals: Even more car manuals for everyone
Home >> Jeep >> 2021 >> Gladiator Mojave, Part Time T/Case Control, Automatic Trans >> Repair and Diagnosis >> Quick Lookups >> Electrical Component Locations >> Connector End Views And Electrical Component Locations (9 Of 13) >> Motor-Wiper-Front (Standard) Connector End View (D3044A)

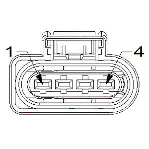
Motor-Wiper-Front (Standard) Connector End View (D3044A)

Harness-Family: Dash

Color: BLACK

Gender: FEMALE

Part Number: 1718562-1

Part Description: Not Available

Connector No: D3044A

Option: Standard

Repair Kit Part Number: 68335199AA

Cavity Count: 4

Fig 1: Motor-Wiper-Front Connector End View (Standard)
GCWD1014665Courtesy of CHRYSLER
Fig 2: Motor-Wiper-Front Isometric View (Standard)
GCWD1012733Courtesy of CHRYSLER
Fig 3: Motor-Wiper-Front Wire Insertion View (Standard)
GCWD1009248Courtesy of CHRYSLER
Fig 4: Motor-Wiper-Front Component Location View (Standard)
GCWD1318618Courtesy of CHRYSLER
Pin Circuit Wire Color Gauge/Size Function Option
1 W7 BN/GY 0.50 WIPER PARK SWITCH SENSE N/A
2 Z907 BK 2.0 GROUND N/A
3 W4 BN/OG 2.0 WIPER HIGH SPEED CONTROL OUTPUT N/A
4 W3 BN/WH 2.0 WIPER LOW SPEED CONTROL OUTPUT N/A