LEMON Manuals: Even more car manuals for everyone
Home >> Jeep >> 2021 >> Gladiator Mojave, Part Time T/Case Control, Automatic Trans >> Repair and Diagnosis >> Quick Lookups >> Electrical Component Locations >> Connector End Views And Electrical Component Locations (9 Of 13) >> Motor-Power Steering Pump C2 (Standard) Connector End View (D2704B)

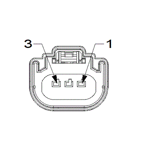
Motor-Power Steering Pump C2 (Standard) Connector End View (D2704B)

Harness-Family: Dash

Color: BLACK

Gender: FEMALE

Part Number: 160073-3105

Part Description: Not Available

Connector No: D2704B

Option: Standard

Repair Kit Part Number: 68528147AA

Cavity Count: 3

Fig 1: Motor-Power Steering Pump C2 Connector End View (Standard)
GCWD1010233Courtesy of CHRYSLER
Fig 2: Motor-Power Steering Pump C2 Isometric View (Standard)
GCWD1010110Courtesy of CHRYSLER
Fig 3: Motor-Power Steering Pump C2 Wire Insertion View (Standard)
GCWD1009177Courtesy of CHRYSLER
Fig 4: Motor-Power Steering Pump C2 Component Location View (Standard)
GCWD1318271Courtesy of CHRYSLER
Pin Circuit Wire Color Gauge/Size Function Option
1 D138 YE 0.35 CAN C (-) N/A
2 D139 YE/BN 0.35 CAN C (+) N/A
3 F941 PK/WH 0.35 IGNITION RUN/START CONTROL OUTPUT N/A