LEMON Manuals: Even more car manuals for everyone
Home >> Jeep >> 2021 >> Gladiator Mojave, Part Time T/Case Control, Automatic Trans >> Repair and Diagnosis >> Quick Lookups >> Electrical Component Locations >> Connector End Views And Electrical Component Locations (9 Of 13) >> Module-Steering Column Control C1 (Standard) Connector End View (D3816A)

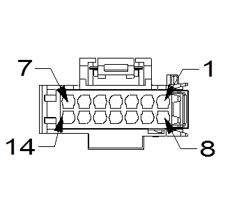
Module-Steering Column Control C1 (Standard) Connector End View (D3816A)

Harness-Family: IP

Color: YELLOW

Gender: FEMALE

Part Number: 1924393-1_1924396-1

Part Description: Not Available

Connector No: D3816A

Option: Standard

Repair Kit Part Number: 68496354AB

Cavity Count: 14

Fig 1: Module-Steering Column Control C1 Connector End View (Standard)
GCWD1006469Courtesy of CHRYSLER
Fig 2: Module-Steering Column Control C1 Isometric View (Standard)
GCWD1089330Courtesy of CHRYSLER
Fig 3: Module-Steering Column Control C1 Wire Insertion View (Standard)
GCWD1008633Courtesy of CHRYSLER
Fig 4: Module-Steering Column Control C1 Component Location View (Standard)
GCWD1318213Courtesy of CHRYSLER
Pin Circuit Wire Color Gauge/Size Function Option
1 N0 NA 0 NO CONNECT N/A
2 N0 NA 0 NO CONNECT N/A
3 N0 NA 0 NO CONNECT EXCEPT HEATED STEERING WHEEL
3 C91 DB/GN 1.0 HEATED STEERING WHEEL FEED HEATED STEERING WHEEL
4 C986 GY/DB 1.0 HEATED STEERING WHEEL RETURN HEATED STEERING WHEEL
4 N0 NA 0 NO CONNECT EXCEPT HEATED STEERING WHEEL
5 N0 NA 0 NO CONNECT N/A
6 N0 NA 0 NO CONNECT N/A
7 N0 NA 0 NO CONNECT N/A
8 R43 BU/BN 0.75 DRIVER SQUIB 1 LINE 2 N/A
9 R45 GN/OG 0.75 DRIVER SQUIB 1 LINE 1 N/A
10 R61 GN/VT 0.75 DRIVER SQUIB 2 LINE 2 EXCEPT EXPORT
10 N0 NA 0 NO CONNECT EXPORT
11 N0 NA 0 NO CONNECT EXPORT
11 R63 DB/WH 0.75 DRIVER SQUIB 2 LINE 1 EXCEPT EXPORT
12 R67 GY/OG 0.75 DRIVER SQUIB 3 LINE 2 EXCEPT EXPORT
12 N0 NA 0 NO CONNECT EXPORT
13 R69 GN/YE 0.75 DRIVER SQUIB 3 LINE 1 EXCEPT EXPORT
13 N0 NA 0 NO CONNECT EXPORT
14 N0 NA 0 NO CONNECT N/A