LEMON Manuals: Even more car manuals for everyone
Home >> Jeep >> 2021 >> Gladiator Mojave, Part Time T/Case Control, Automatic Trans >> Repair and Diagnosis >> Quick Lookups >> Electrical Component Locations >> Connector End Views And Electrical Component Locations (8 Of 13) >> Module-HVAC C2 (Standard) Connector End View (D3828B)

Module-HVAC C2 (Standard) Connector End View (D3828B)

Harness-Family: IP

Color: BLACK

Gender: FEMALE

Part Number: 13782037

Part Description: Not Available

Connector No: D3828B

Option: Standard

Repair Kit Part Number: 68496362AA

Cavity Count: 8

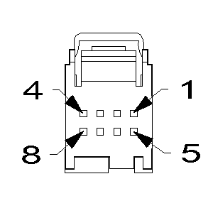
Fig 1: Module-Hvac C2 Connector End View (Standard)
GCWD1006483Courtesy of CHRYSLER
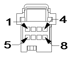
Fig 2: Module-Hvac C2 Isometric View (Standard)
GCWD1083483Courtesy of CHRYSLER
Fig 3: Module-Hvac C2 Wire Insertion View (Standard)
GCWD1008828Courtesy of CHRYSLER
Fig 4: Module-Hvac C2 Component Location View (Standard)
GCWD1318450Courtesy of CHRYSLER
Pin Circuit Wire Color Gauge/Size Function Option
1 L24 WH/VT 0.35 AUTO HEADLAMPS SIGNAL N/A
2 G939 VT/DB 0.35 SENSOR GROUND N/A
3 G39 VT/BU 0.35 SUN SENSOR SIGNAL 1 N/A
4 G139 VT/OG 0.35 SUN SENSOR SIGNAL 2 N/A
5 C36 BU/BN 0.35 SNSR IN CAR TEMP SIG N/A
6 C37 BU/OG 0.35 SNSR IN CAR TEMP RTN N/A
7 N0 NA 0 NO CONNECT N/A
8 N0 NA 0 NO CONNECT N/A