LEMON Manuals: Even more car manuals for everyone
Home >> Jeep >> 2021 >> Gladiator Mojave, Part Time T/Case Control, Automatic Trans >> Repair and Diagnosis >> Quick Lookups >> Electrical Component Locations >> Connector End Views And Electrical Component Locations (7 Of 13) >> Module-Emergency Assistance C7 (Standard) Connector End View (D3115G)

Module-Emergency Assistance C7 (Standard) Connector End View (D3115G)

Harness-Family: IP

Color: BLACK

Gender: MALE

Part Number: 111014-9065

Part Description: Not Available

Connector No: D3115G

Option: Standard

Repair Kit Part Number: Not Available

Cavity Count: 1

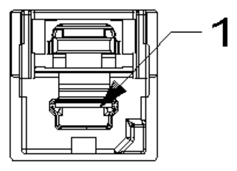
Fig 1: Module-Emergency Assistance C7 Connector End View (Standard)
GCWD1270057Courtesy of CHRYSLER
Fig 2: Module-Emergency Assistance C7 Isometric View (Standard)
GCWD1318090Courtesy of CHRYSLER
Fig 3: Module-Emergency Assistance C7 Wire Insertion View (Standard)
GCWD1317724Courtesy of CHRYSLER
Fig 4: Module-Emergency Assistance C7 Component Location View (Standard)
GCWD1318448Courtesy of CHRYSLER
Pin Circuit Wire Color Gauge/Size Function Option
1 J209 BK 1.0 USB CABLE N/A