LEMON Manuals: Even more car manuals for everyone
Home >> Jeep >> 2021 >> Gladiator Mojave, Part Time T/Case Control, Automatic Trans >> Repair and Diagnosis >> Quick Lookups >> Electrical Component Locations >> Connector End Views And Electrical Component Locations (7 Of 13) >> Module-Drive Train Control C2 (Standard) Connector End View (D3872B)

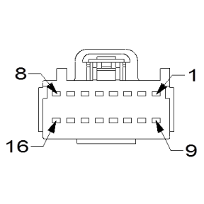
Module-Drive Train Control C2 (Standard) Connector End View (D3872B)

Harness-Family: Body

Color: GRAY

Gender: FEMALE

Part Number: 7283-3585-40

Part Description: Not Available

Connector No: D3872B

Option: Standard

Repair Kit Part Number: 68490752AA

Cavity Count: 16

Fig 1: Module-Drive Train Control C2 Connector End View (Standard)
GCWD1010500Courtesy of CHRYSLER
Fig 2: Module-Drive Train Control C2 Isometric View (Standard)
GCWD1007102Courtesy of CHRYSLER
Fig 3: Module-Drive Train Control C2 Wire Insertion View (Standard)
GCWD1006979Courtesy of CHRYSLER
Fig 4: Module-Drive Train Control C2 Component Location View (Standard)
GCWD1318469Courtesy of CHRYSLER
Pin Circuit Wire Color Gauge/Size Function Option
1 N0 NA 0 NO CONNECT N/A
2 N0 NA 0 NO CONNECT N/A
3 N0 NA 0 NO CONNECT N/A
4 N0 NA 0 NO CONNECT N/A
5 N0 NA 0 NO CONNECT N/A
6 N0 NA 0 NO CONNECT N/A
7 N0 NA 0 NO CONNECT N/A
8 N0 NA 0 NO CONNECT N/A
9 N0 NA 0 NO CONNECT N/A
10 T538 YE/DB 0.35 LOCKER SENSOR RETURN REAR N/A
11 T527 YE/BG 0.35 REAR LOCKER SWITCH SENSE N/A
12 T528 YE/GY 0.75 REAR LOCKER RETURN N/A
13 N0 NA 0 NO CONNECT N/A
14 T522 YE/BU 0.35 FRONT LOCKER SWITCH SENSE N/A
15 T523 YE/BG 0.35 LOCKER SENSOR RETURN N/A
16 T524 YE/GN 0.75 FRONT LOCKER RETURN N/A