LEMON Manuals: Even more car manuals for everyone
Home >> Jeep >> 2021 >> Gladiator Mojave, Part Time T/Case Control, Automatic Trans >> Repair and Diagnosis >> Quick Lookups >> Electrical Component Locations >> Connector End Views And Electrical Component Locations (7 Of 13) >> Module-Comfort Seat Steering Wheel C4 (Standard) Connector End View (D3846D)

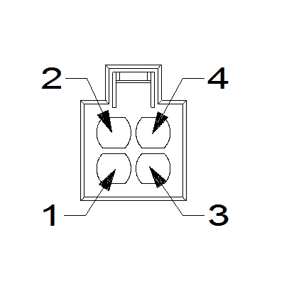
Module-Comfort Seat Steering Wheel C4 (Standard) Connector End View (D3846D)

Harness-Family: IP

Color: BLUE

Gender: FEMALE

Part Number: 9-1355493-3

Part Description: Not Available

Connector No: D3846D

Option: Standard

Repair Kit Part Number: 68087936AA

Cavity Count: 4

Fig 1: Module-Comfort Seat Steering Wheel C4 Connector End View (Standard)
GCWD1011524Courtesy of CHRYSLER
Fig 2: Module-Comfort Seat Steering Wheel C4 Isometric View (Standard)
GCWD1014419Courtesy of CHRYSLER
Fig 3: Module-Comfort Seat Steering Wheel C4 Wire Insertion View (Standard)
GCWD1007639Courtesy of CHRYSLER
Fig 4: Module-Comfort Seat Steering Wheel C4 Component Location View (Standard)
GCWD1318906Courtesy of CHRYSLER
Pin Circuit Wire Color Gauge/Size Function Option
1 N0 NA 0 NO CONNECT N/A
2 F924 PK/YE 1.0 FUSED IGNITION N/A
3 C91 DB/GN 1.0 HEATED STEERING WHEEL FEED N/A
4 C986 GY/DB 1.0 HEATED STEERING WHEEL RETURN N/A