LEMON Manuals: Even more car manuals for everyone
Home >> Jeep >> 2021 >> Gladiator Mojave, Part Time T/Case Control, Automatic Trans >> Repair and Diagnosis >> Quick Lookups >> Electrical Component Locations >> Connector End Views And Electrical Component Locations (7 Of 13) >> Module-Comfort Seat Steering Wheel C3 (Standard) Connector End View (D3846C)

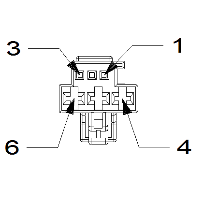
Module-Comfort Seat Steering Wheel C3 (Standard) Connector End View (D3846C)

Harness-Family: IP

Color: BLACK

Gender: FEMALE

Part Number: 1-929173-5_2177231-1

Part Description: Not Available

Connector No: D3846C

Option: Standard

Repair Kit Part Number: 68496364AA

Cavity Count: 6

Fig 1: Module-Comfort Seat Steering Wheel C3 Connector End View (Standard)
GCWD1011209Courtesy of CHRYSLER
Fig 2: Module-Comfort Seat Steering Wheel C3 Isometric View (Standard)
GCWD1011699Courtesy of CHRYSLER
Fig 3: Module-Comfort Seat Steering Wheel C3 Wire Insertion View (Standard)
GCWD1006689Courtesy of CHRYSLER
Fig 4: Module-Comfort Seat Steering Wheel C3 Component Location View (Standard)
GCWD1318907Courtesy of CHRYSLER
Pin Circuit Wire Color Gauge/Size Function Option
1 P413 OG/GY 0.35 DRIVER FRONT HEATED SEAT CUSHION TEMP SENSE RHD
1 P417 GN/GY 0.35 PASSENGER FRONT HEATED SEAT CUSHION TEMP SENSE LHD
2 P418 BG/VT 0.35 PASSENGER FRONT HEATED SEAT BACK TEMP SENSE LHD
2 P415 OG/VT 0.35 DRIVER FRONT HEATED SEAT BACK TEMP SENSE RHD
3 N0 NA 0 NO CONNECT N/A
4 F506 PK/OG 0.75 PASSENGER SEAT CUSHION SUPPLY LHD
4 F503 OG/PK 0.75 DRIVER SEAT CUSHION SUPPLY RHD
5 F508 PK/GN 0.75 PASSENGER SEAT BACK SUPPLY LHD
5 F507 GN/PK 0.75 DRIVER SEAT BACK SUPPLY RHD
6 F922 PK/YE 1.0 FUSED IGNITION N/A