LEMON Manuals: Even more car manuals for everyone
Home >> Jeep >> 2021 >> Gladiator Mojave, Part Time T/Case Control, Automatic Trans >> Repair and Diagnosis >> Quick Lookups >> Electrical Component Locations >> Connector End Views And Electrical Component Locations (7 Of 13) >> Module-Comfort Seat Steering Wheel C2 (Standard) Connector End View (D3846B)

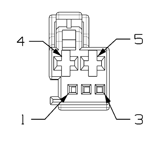
Module-Comfort Seat Steering Wheel C2 (Standard) Connector End View (D3846B)

Harness-Family: IP

Color: NATURAL

Gender: FEMALE

Part Number: 2-2177196-1_2177231-1

Part Description: INNER HOUSING BLACK

Connector No: D3846B

Option: Standard

Repair Kit Part Number: 68156141AA

Cavity Count: 5

Fig 1: Module-Comfort Seat Steering Wheel C2 Connector End View (Standard)
GCWD1006528Courtesy of CHRYSLER
Fig 2: Module-Comfort Seat Steering Wheel C2 Isometric View (Standard)
GCWD1085219Courtesy of CHRYSLER
Fig 3: Module-Comfort Seat Steering Wheel C2 Wire Insertion View (Standard)
GCWD1010247Courtesy of CHRYSLER
Fig 4: Module-Comfort Seat Steering Wheel C2 Component Location View (Standard)
GCWD1318908Courtesy of CHRYSLER
Pin Circuit Wire Color Gauge/Size Function Option
1 P417 GN/GY 0.35 PASSENGER FRONT HEATED SEAT CUSHION TEMP SENSE RHD
1 P413 OG/GY 0.35 DRIVER FRONT HEATED SEAT CUSHION TEMP SENSE LHD
2 P415 OG/VT 0.35 DRIVER FRONT HEATED SEAT BACK TEMP SENSE LHD
2 P418 BG/VT 0.35 PASSENGER FRONT HEATED SEAT BACK TEMP SENSE RHD
3 P419 OG/BK 0.35 SENSOR RETURN LHD
3 P419 OG/BK 0.35 SENSOR RETURN RHD
4 F503 OG/PK 0.75 DRIVER SEAT CUSHION SUPPLY LHD
4 F506 PK/OG 0.75 PASSENGER SEAT CUSHION SUPPLY RHD
5 F507 GN/PK 0.75 DRIVER SEAT BACK SUPPLY LHD
5 F508 PK/GN 0.75 PASSENGER SEAT BACK SUPPLY RHD