LEMON Manuals: Even more car manuals for everyone
Home >> Jeep >> 2021 >> Gladiator Mojave, Part Time T/Case Control, Automatic Trans >> Repair and Diagnosis >> Quick Lookups >> Electrical Component Locations >> Connector End Views And Electrical Component Locations (7 Of 13) >> Module-Central Vision Processing C1 (Standard) Connector End View (D2999A)

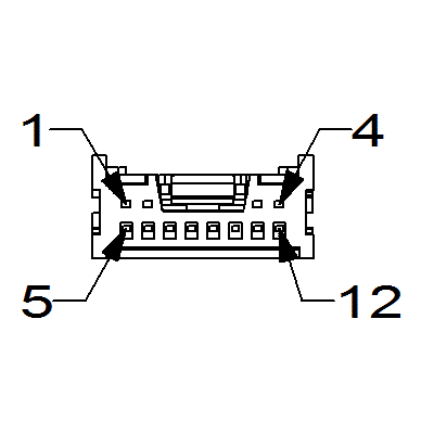
Module-Central Vision Processing C1 (Standard) Connector End View (D2999A)

Harness-Family: Body

Color: BLACK

Gender: FEMALE

Part Number: 34824-0124

Part Description: Not Available

Connector No: D2999A

Option: Standard

Repair Kit Part Number: TBD 19HD-4

Cavity Count: 12

Fig 1: Module-Central Vision Processing C1 Connector End View (Standard)
GCWD1012363Courtesy of CHRYSLER
Fig 2: Module-Central Vision Processing C1 Isometric View (Standard)
GCWD1013086Courtesy of CHRYSLER
Fig 3: Module-Central Vision Processing C1 Wire Insertion View (Standard)
GCWD1006910Courtesy of CHRYSLER
Fig 4: Module-Central Vision Processing C1 Component Location View (Standard)
GCWD1319030Courtesy of CHRYSLER
Pin Circuit Wire Color Gauge/Size Function Option
1 N0 NA 0 NO CONNECT N/A
2 N0 NA 0 NO CONNECT N/A
3 N0 NA 0 NO CONNECT N/A
4 F928 PK/YE 0.35 IGNITION RUN OUTPUT N/A
5 N0 NA 0 NO CONNECT N/A
6 N0 NA 0 NO CONNECT N/A
7 N0 NA 0 NO CONNECT N/A
8 D263 DB 0.35 CAN IHS (+) N/A
9 D262 WH/OG 0.35 CAN IHS (-) N/A
10 N0 NA 0 NO CONNECT N/A
11 N0 NA 0 NO CONNECT N/A
12 Z916 BK/YE 0.35 GROUND N/A