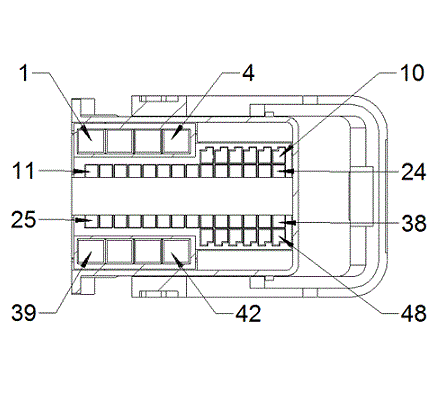
Module-Body Control C6/F (Standard) Connector End View (D3806F)
Harness-Family: Body
Color: NATURAL
Gender: FEMALE
Part Number: 13850165_13850160_13850161
Part Description: Not Available
Connector No: D3806F
Option: Standard
Repair Kit Part Number: 68440523AB
Cavity Count: 48
| Pin | Circuit | Wire Color | Gauge/Size | Function | Option |
|---|---|---|---|---|---|
| 1 | P910 | BG/GN | 0.75 | FRONT DRIVER DOOR UNLOCK | N/A |
| 2 | P777 | GN/DG | 0.75 | DOOR LOCK CONTROL | N/A |
| 3 | P292 | VT/GN | 0.75 | DOOR UNLOCK CONTROL | N/A |
| 4 | N0 | NA | 0 | NO CONNECT | N/A |
| 5 | N0 | NA | 0 | NO CONNECT | EXCEPT EXPORT |
| 5 | L899 | WH/OG | 0.75 | REAR FOG LAMP FEED | EXPORT |
| 6 | L19 | BG/WH | 0.50 | CARGO LAMP DRIVER | N/A |
| 7 | N0 | NA | 0 | NO CONNECT | N/A |
| 8 | N0 | NA | 0 | NO CONNECT | N/A |
| 9 | G75 | VT | 0.35 | DRIVER DOOR AJAR SWITCH SENSE | N/A |
| 10 | P371 | BG/BN | 0.35 | DOOR LOCK SW RTN DRIV | N/A |
| 11 | N0 | NA | 0 | NO CONNECT | N/A |
| 12 | N0 | NA | 0 | NO CONNECT | N/A |
| 13 | N0 | NA | 0 | NO CONNECT | N/A |
| 14 | N0 | NA | 0 | NO CONNECT | N/A |
| 15 | G161 | VT/DG | 0.35 | LEFT DOOR LOCK SWITCH STATUS | N/A |
| 16 | G160 | VT/GN | 0.35 | RIGHT DOOR LOCK SWITCH STATUS | N/A |
| 17 | N0 | NA | 0 | NO CONNECT | N/A |
| 18 | N0 | NA | 0 | NO CONNECT | N/A |
| 19 | N0 | NA | 0 | NO CONNECT | N/A |
| 20 | N0 | NA | 0 | NO CONNECT | N/A |
| 21 | N0 | NA | 0 | NO CONNECT | N/A |
| 22 | N0 | NA | 0 | NO CONNECT | N/A |
| 23 | G77 | VT/GY | 0.35 | LEFT REAR DOOR AJAR SWITCH SENSE | N/A |
| 24 | P372 | BG/OG | 0.35 | DOOR LOCK SW RTN PASS | N/A |
| 25 | L551 | BG/BN | 0.35 | LEFT FRONT LIGHTING FAULT SENSE | N/A |
| 26 | N0 | NA | 0 | NO CONNECT | N/A |
| 27 | L563 | WH/GY | 0.35 | LEFT REAR LIGHTING FAULT SENSE | N/A |
| 28 | L552 | BG/OG | 0.35 | RIGHT FRONT LIGHTING FAULT SENSE | N/A |
| 29 | X3 | DG/VT | 0.35 | HORN SWITCH SENSE | N/A |
| 30 | P221 | GN/BG | 0.75 | TAILGATE LOCK | N/A |
| 31 | L562 | WH/BG | 0.35 | RIGHT REAR LIGHTING FAULT SENSE | N/A |
| 32 | L71 | WH/GY | 0.75 | LEFT REAR PARK LAMP DRIVER | N/A |
| 33 | P220 | GN/WH | 0.75 | TAILGATE UNLOCK | N/A |
| 34 | N0 | NA | 0 | NO CONNECT | BASE |
| 34 | P806 | GN/WH | 0.35 | INVERTER STATUS INDICATOR DRIVER | PREMIUM |
| 35 | P807 | GN/BU | 0.35 | INVERTER SWITCH SIGNAL | EXCEPT EXPORT |
| 35 | P827 | GN/DB | 0.35 | INVERTER SWITCH SIGNAL | EXPORT |
| 36 | N0 | NA | 0 | NO CONNECT | EXPORT |
| 36 | L655 | WH/OG | 0.35 | LEFT REAR TURN SIGNAL CONTROL | EXCEPT EXPORT |
| 37 | N0 | NA | 0 | NO CONNECT | N/A |
| 38 | N0 | NA | 0 | NO CONNECT | N/A |
| 39 | L51 | WH/DG | 0.75 | BRAKE LAMP SWITCH OUTPUT | N/A |
| 40 | L52 | WH | 0.75 | LEFT STOP LAMP DRIVER | EXPORT |
| 40 | L9 | YE | 0.75 | LEFT STOP/TURN FEED | EXCEPT EXPORT |
| 41 | L15 | WH/BG | 0.75 | LEFT BACKUP LAMP DRIVER | N/A |
| 42 | L62 | WH/YE | 0.75 | RIGHT REAR TURN LAMP DRIVER | EXPORT |
| 42 | N0 | NA | 0 | NO CONNECT | EXCEPT EXPORT |
| 43 | N0 | NA | 0 | NO CONNECT | N/A |
| 44 | N0 | NA | 0 | NO CONNECT | N/A |
| 45 | N0 | NA | 0 | NO CONNECT | N/A |
| 46 | N0 | NA | 0 | NO CONNECT | N/A |
| 47 | N0 | NA | 0 | NO CONNECT | N/A |
| 48 | N0 | NA | 0 | NO CONNECT | N/A |