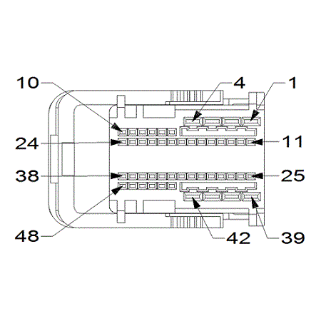
Module-Body Control C5/E (Standard) Connector End View (D3806E)
Harness-Family: Body
Color: BLACK
Gender: FEMALE
Part Number: 13850164_13850160_13850161
Part Description: Not Available
Connector No: D3806E
Option: Standard
Repair Kit Part Number: 68440522AB
Cavity Count: 48
| Pin | Circuit | Wire Color | Gauge/Size | Function | Option |
|---|---|---|---|---|---|
| 1 | L16 | WH/VT | 0.75 | RIGHT BACKUP LAMP DRIVER | N/A |
| 2 | L6 | GN | 0.75 | RIGHT STOP/TURN FEED | EXCEPT EXPORT |
| 2 | L54 | WH/GN | 0.75 | RIGHT STOP LAMP DRIVER | EXPORT |
| 3 | N0 | NA | 0 | NO CONNECT | EXCEPT EXPORT |
| 3 | L63 | WH/DG | 0.75 | LEFT REAR TURN LAMP DRIVER | EXPORT |
| 4 | L72 | WH/OG | 0.75 | RIGHT REAR PARK LAMP DRIVER | N/A |
| 5 | G76 | VT/YE | 0.35 | RIGHT REAR DOOR AJAR SWITCH SENSE | N/A |
| 6 | P305 | GN/BU | 0.35 | ACCESSORY DELAY RELAY CONTROL | N/A |
| 7 | N0 | NA | 0 | NO CONNECT | N/A |
| 8 | N0 | NA | 0 | NO CONNECT | N/A |
| 9 | P307 | GN/GY | 0.35 | ACCESSORY DELAY RELAY CONTROL | N/A |
| 10 | C902 | DB | 0.50 | ELECTRIC WINDSHIELD WIPER DE-ICER CONTROL | N/A |
| 11 | B25 | DG/WH | 0.35 | PARK BRAKE SWITCH SENSE | N/A |
| 12 | N0 | NA | 0 | NO CONNECT | N/A |
| 13 | N0 | NA | 0 | NO CONNECT | N/A |
| 14 | Q997 | OG/VT | 0.50 | ROOF PRESENCE DETECTION SENSE | N/A |
| 15 | N0 | NA | 0 | NO CONNECT | N/A |
| 16 | G109 | BK | 0.50 | FUEL LEVEL SENSE RETURN | N/A |
| 17 | N4 | DB/WH | 0.75 | FUEL LEVEL SENSOR SIGNAL | N/A |
| 18 | L3 | WH/DB | 0.50 | LICENSE PLATE LAMP DRIVER | N/A |
| 19 | N0 | NA | 0 | NO CONNECT | N/A |
| 20 | N0 | NA | 0 | NO CONNECT | N/A |
| 21 | N0 | NA | 0 | NO CONNECT | N/A |
| 22 | N0 | NA | 0 | NO CONNECT | EXPORT |
| 22 | L656 | WH/DG | 0.35 | RIGHT REAR TURN SIGNAL CONTROL | EXCEPT EXPORT |
| 23 | L658 | WH/BN | 0.35 | TRAILER TOW BACKUP LAMP RELAY CONTROL | EXCEPT EXPORT |
| 23 | N0 | NA | 0 | NO CONNECT | EXPORT |
| 24 | L657 | WH/GN | 0.35 | TRAILER TOW TAIL LAMP RELAY CTRL | EXCEPT EXPORT |
| 24 | N0 | NA | 0 | NO CONNECT | EXPORT |
| 25 | D45 | BN | 0.35 | CAN C (+) | N/A |
| 26 | D46 | YE | 0.35 | CAN C (-) | N/A |
| 27 | F20 | PK/WH | 0.35 | IGNITION RUN/START CONTROL OUTPUT | N/A |
| 28 | G755 | VT/BG | 0.35 | DRIVER DOOR SECONDARY AJAR SWITCH SENSE | N/A |
| 29 | N0 | NA | 0 | NO CONNECT | N/A |
| 30 | N0 | NA | 0 | NO CONNECT | N/A |
| 31 | N0 | NA | 0 | NO CONNECT | N/A |
| 32 | N0 | NA | 0 | NO CONNECT | N/A |
| 33 | N0 | NA | 0 | NO CONNECT | N/A |
| 34 | N0 | NA | 0 | NO CONNECT | N/A |
| 35 | N0 | NA | 0 | NO CONNECT | N/A |
| 36 | K619 | BN/OG | 0.35 | IGNITION RUN CONTROL OUTPUT | N/A |
| 37 | N0 | NA | 0 | NO CONNECT | N/A |
| 38 | N0 | NA | 0 | NO CONNECT | N/A |
| 39 | L898 | WH/DG | 0.75 | FOG RR LAMP FEED 2 | EXPORT |
| 39 | N0 | NA | 0 | NO CONNECT | EXCEPT EXPORT |
| 40 | N0 | NA | 0 | NO CONNECT | N/A |
| 41 | N0 | NA | 0 | NO CONNECT | N/A |
| 42 | N0 | NA | 0 | NO CONNECT | N/A |
| 43 | N0 | NA | 0 | NO CONNECT | N/A |
| 44 | N0 | NA | 0 | NO CONNECT | N/A |
| 45 | D403 | OG/DB | 0.35 | LIN BUS CBC 3 | N/A |
| 46 | N0 | NA | 0 | NO CONNECT | N/A |
| 47 | N0 | NA | 0 | NO CONNECT | N/A |
| 48 | N0 | NA | 0 | NO CONNECT | N/A |