LEMON Manuals: Even more car manuals for everyone
Home >> Jeep >> 2021 >> Gladiator Mojave, Part Time T/Case Control, Automatic Trans >> Repair and Diagnosis >> Quick Lookups >> Electrical Component Locations >> Connector End Views And Electrical Component Locations (7 Of 13) >> Lighter-Cigar-Console (Standard) Connector End View (D6601A)

Lighter-Cigar-Console (Standard) Connector End View (D6601A)

Harness-Family: IP

Color: GRAY

Gender: FEMALE

Part Number: 1480-5000

Part Description: LIGHTER OUTLET CONNECTOR ASSEMBLY

Connector No: D6601A

Option: Standard

Repair Kit Part Number: 05019916AB

Cavity Count: 3

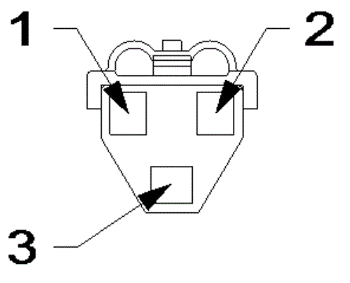
Fig 1: Lighter-Cigar-Console Connector End View (Standard)
GCWD1087119Courtesy of CHRYSLER
Fig 2: Lighter-Cigar-Console Isometric View (Standard)
GCWD1084159Courtesy of CHRYSLER
Fig 3: Lighter-Cigar-Console Wire Insertion View (Standard)
GCWD1010122Courtesy of CHRYSLER
Fig 4: Lighter-Cigar-Console Component Location View (Standard)
GCWD1319037Courtesy of CHRYSLER
Pin Circuit Wire Color Gauge/Size Function Option
1 F986 PK/YE 1.5 FUSED IGNITION SWITCH OUTPUT (RUN-ACC) N/A
2 E12 OG/GY 0.75 PANEL LAMPS DRIVER N/A
3 Z910 BK/GY 1.5 GROUND N/A