LEMON Manuals: Even more car manuals for everyone
Home >> Jeep >> 2021 >> Gladiator Mojave, Part Time T/Case Control, Automatic Trans >> Repair and Diagnosis >> Quick Lookups >> Electrical Component Locations >> Connector End Views And Electrical Component Locations (6 Of 13) >> Lamp-PRNDL (Standard) Connector End View (D4561A)

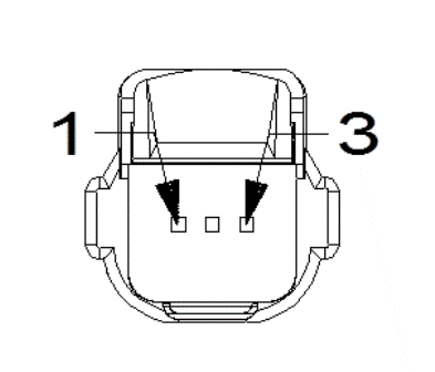
Lamp-PRNDL (Standard) Connector End View (D4561A)

Harness-Family: PRNDM_JUMPER

Color: BLACK

Gender: FEMALE

Part Number: 31403-3110

Part Description: Not Available

Connector No: D4561A

Option: Standard

Repair Kit Part Number: 68396633AA

Cavity Count: 3

Fig 1: Lamp-Prndl Connector End View (Standard)
GCWD1011947Courtesy of CHRYSLER
Fig 2: Lamp-Prndl Isometric View (Standard)
GCWD1011299Courtesy of CHRYSLER
Fig 3: Lamp-Prndl Wire Insertion View (Standard)
GCWD1010314Courtesy of CHRYSLER
Fig 4: Lamp-Prndl Component Location View (Standard)
GCWD1318804Courtesy of CHRYSLER
Pin Circuit Wire Color Gauge/Size Function Option
1 A195 WH 0.50 FUSED B(+) N/A
2 Z912 PK 0.50 GROUND N/A
3 D405 GN 0.50 LIN BUS N/A