LEMON Manuals: Even more car manuals for everyone
Home >> Jeep >> 2021 >> Gladiator Mojave, Part Time T/Case Control, Automatic Trans >> Repair and Diagnosis >> Quick Lookups >> Electrical Component Locations >> Connector End Views And Electrical Component Locations (6 Of 13) >> Lamp-Assembly-Right Front C1 (Standard) Connector End View (D6606A)

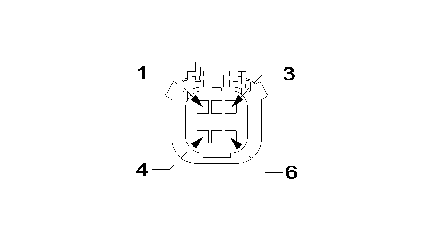
Lamp-Assembly-Right Front C1 (Standard) Connector End View (D6606A)

Harness-Family: Dash

Color: BLACK

Gender: FEMALE

Part Number: 33472-0601

Part Description: Not Available

Connector No: D6606A

Option: Standard

Repair Kit Part Number: 68225123AA

Cavity Count: 6

Fig 1: Lamp-Assembly-Right Front C1 Connector End View (Standard)
GCWD1139193Courtesy of CHRYSLER
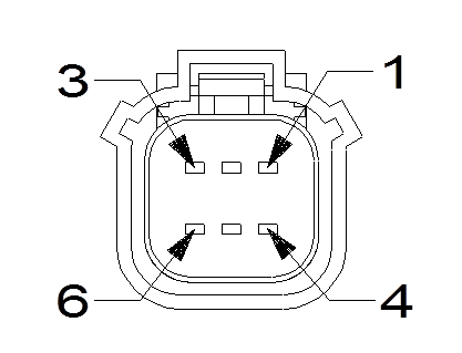
Fig 2: Lamp-Assembly-Right Front C1 Isometric View (Standard)
GCWD1311519Courtesy of CHRYSLER
Fig 3: Lamp-Assembly-Right Front C1 Wire Insertion View (Standard)
GCWD1007842Courtesy of CHRYSLER
Fig 4: Lamp-Assembly-Right Front C1 Component Location View (Standard)
GCWD1318419Courtesy of CHRYSLER
Pin Circuit Wire Color Gauge/Size Function Option
1 Z904 BK 1.5 GROUND N/A
2 L44 WH/BG 1.5 RIGHT LOW BEAM DRIVER N/A
3 N0 NA 0 NO CONNECT N/A
4 L34 WH/GY 1.5 RIGHT HIGH BEAM DRIVER N/A
5 L118 BG/OG 0.50 RIGHT FRONT PARK LAMP DRIVER EXCEPT EXPORT
5 N0 NA 0 NO CONNECT EXPORT
6 N0 NA 0 NO CONNECT N/A