LEMON Manuals: Even more car manuals for everyone
Home >> Jeep >> 2021 >> Gladiator Mojave, Part Time T/Case Control, Automatic Trans >> Repair and Diagnosis >> Quick Lookups >> Electrical Component Locations >> Connector End Views And Electrical Component Locations (5 Of 13) >> XY700A (Standard) Connector End View (X700A)

XY700A (Standard) Connector End View (X700A)

Harness-Family: Door_Rear_Left

Color: LIGHT GRAY

Gender: FEMALE

Part Number: 7283-6448-40

Part Description: Not Available

Connector No: X700A

Option: Standard

Repair Kit Part Number: 68068651AA

Cavity Count: 8

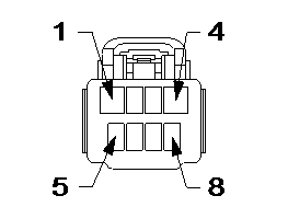
Fig 1: Xy700a Connector End View (Standard)
GCWD1006346Courtesy of CHRYSLER
Fig 2: Xy700a Isometric View (Standard)
GCWD1087407Courtesy of CHRYSLER
Fig 3: Xy700a Wire Insertion View (Standard)
GCWD1008579Courtesy of CHRYSLER
Fig 4: Xy700a Component Location View (Standard)
GCWD1318351Courtesy of CHRYSLER
Pin Circuit Wire Color Gauge/Size Function Option
1 Q111 BG/YE 2.0 DRIVER REAR WINDOW DRIVER (UP) N/A
2 P292 VT/GN 0.80 DOOR UNLOCK CONTROL N/A
3 P777 GN/DG 0.80 DOOR LOCK CONTROL N/A
4 Q211 BG/BU 2.0 DRIVER REAR WINDOW DRIVER (DOWN) N/A
5 N0 NA 0 NO CONNECT N/A
6 G77 VT/GY 0.35 LEFT REAR DOOR AJAR SWITCH SENSE N/A
7 P371 BG/BN 0.35 DOOR LOCK SW RTN DRIV N/A
8 N0 NA 0 NO CONNECT N/A