LEMON Manuals: Even more car manuals for everyone
Home >> Jeep >> 2021 >> Gladiator Mojave, Part Time T/Case Control, Automatic Trans >> Repair and Diagnosis >> Quick Lookups >> Electrical Component Locations >> Connector End Views And Electrical Component Locations (2 Of 13) >> Connector-Star Can IHS IP C2 (Standard) Connector End View (D2601B)

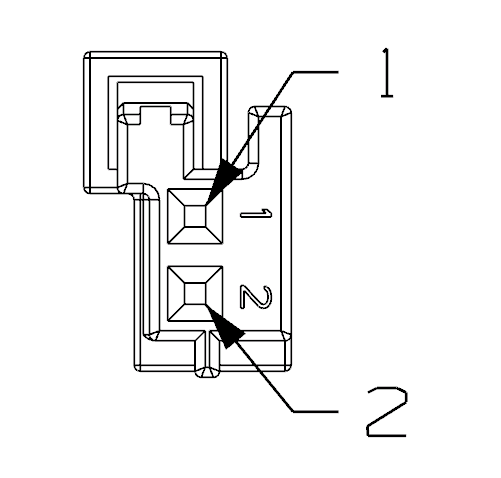
Connector-Star Can IHS IP C2 (Standard) Connector End View (D2601B)

Harness-Family: IP

Color: GREEN

Gender: FEMALE

Part Number: 5-2138650-1

Part Description: Not Available

Connector No: D2601B

Option: Standard

Repair Kit Part Number: 68140676AA

Cavity Count: 2

Fig 1: Connector-Star Can Ihs Ip C2 Connector End View (Standard)
GCWD1006293Courtesy of CHRYSLER
Fig 2: Connector-Star Can Ihs Ip C2 Isometric View (Standard)
GCWD1082724Courtesy of CHRYSLER
Fig 3: Connector-Star Can Ihs Ip C2 Wire Insertion View (Standard)
GCWD1010105Courtesy of CHRYSLER
Fig 4: Connector-Star Can Ihs Ip C2 Component Location View (Standard)
GCWD1319042Courtesy of CHRYSLER
Pin Circuit Wire Color Gauge/Size Function Option
1 D145 WH/GN 0.35 CAN IHS (+) N/A
2 D146 WH 0.35 CAN IHS (-) N/A