LEMON Manuals: Even more car manuals for everyone
Home >> Jeep >> 2021 >> Gladiator Mojave, Part Time T/Case Control, Automatic Trans >> Repair and Diagnosis >> Quick Lookups >> Electrical Component Locations >> Connector End Views And Electrical Component Locations (2 Of 13) >> Connector-Star Can IHS Body C1 (Standard) Connector End View (D2602A)

Connector-Star Can IHS Body C1 (Standard) Connector End View (D2602A)

Harness-Family: Body

Color: GREEN

Gender: FEMALE

Part Number: 5-2138651-1

Part Description: Not Available

Connector No: D2602A

Option: Standard

Repair Kit Part Number: 68140677AA

Cavity Count: 3

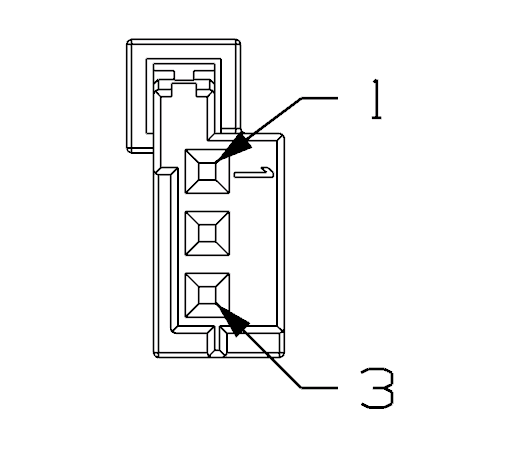
Fig 1: Connector-Star Can Ihs Body C1 Connector End View (Standard)
GCWD1006452Courtesy of CHRYSLER
Fig 2: Connector-Star Can Ihs Body C1 Isometric View (Standard)
GCWD1080996Courtesy of CHRYSLER
Fig 3: Connector-Star Can Ihs Body C1 Wire Insertion View (Standard)
GCWD1007650Courtesy of CHRYSLER
Fig 4: Connector-Star Can Ihs Body C1 Component Location View (Standard)
GCWD1318360Courtesy of CHRYSLER
Pin Circuit Wire Color Gauge/Size Function Option
1 D17 OG 0.35 CAN IHS (+) N/A
2 D18 WH/OG 0.35 CAN IHS (-) N/A
3 Z915 BK 0.35 GROUND N/A