LEMON Manuals: Even more car manuals for everyone
Home >> Jeep >> 2021 >> Gladiator Mojave, Part Time T/Case Control, Automatic Trans >> Repair and Diagnosis >> Quick Lookups >> Electrical Component Locations >> Connector End Views And Electrical Component Locations (12 Of 13) >> Speaker-Instrument Panel-Lower Right (Standard) Connector End View (D5934A)

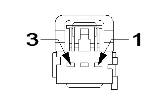
Speaker-Instrument Panel-Lower Right (Standard) Connector End View (D5934A)

Harness-Family: IP

Color: LIGHT GRAY

Gender: FEMALE

Part Number: 7283-3440-40

Part Description: KAIZEN YESC CONNECTOR SUB ASSEMBLY

Connector No: D5934A

Option: Standard

Repair Kit Part Number: 68032286AA

Cavity Count: 3

Fig 1: Speaker-Instrument Panel-Lower Right Connector End View (Standard)
GCWD1052453Courtesy of CHRYSLER
Fig 2: Speaker-Instrument Panel-Lower Right Isometric View (Standard)
GCWD1089376Courtesy of CHRYSLER
Fig 3: Speaker-Instrument Panel-Lower Right Wire Insertion View (Standard)
GCWD1008553Courtesy of CHRYSLER
Fig 4: Speaker-Instrument Panel-Lower Right Component Location View (Standard)
GCWD1318909Courtesy of CHRYSLER
Pin Circuit Wire Color Gauge/Size Function Option
1 X202 DG/VT 0.75 RIGHT FRONT SPEAKER (+) N/A
2 N0 NA 0 NO CONNECT N/A
3 X292 DG/YE 0.75 RIGHT FRONT SPEAKER (-) N/A