LEMON Manuals: Even more car manuals for everyone
Home >> Jeep >> 2021 >> Gladiator Mojave, Part Time T/Case Control, Automatic Trans >> Repair and Diagnosis >> Quick Lookups >> Electrical Component Locations >> Connector End Views And Electrical Component Locations (12 Of 13) >> Solenoid-VVL 1/2 (Standard) Connector End View (D2902A)

Solenoid-VVL 1/2 (Standard) Connector End View (D2902A)

Harness-Family: Engine

Color: LIGHT GRAY

Gender: FEMALE

Part Number: 10092984

Part Description: Not Available

Connector No: D2902A

Option: Standard

Repair Kit Part Number: TBD Grp38-5

Cavity Count: 2

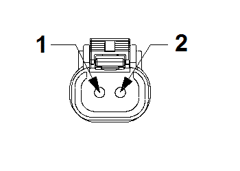
Fig 1: Solenoid-Vvl 1/2 Connector End View (Standard)
GCWD1010833Courtesy of CHRYSLER
Fig 2: Solenoid-Vvl 1/2 Isometric View (Standard)
GCWD1013510Courtesy of CHRYSLER
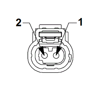
Fig 3: Solenoid-Vvl 1/2 Wire Insertion View (Standard)
GCWD1009569Courtesy of CHRYSLER
Fig 4: Solenoid-Vvl 1/2 Component Location View (Standard)
GCWD1318587Courtesy of CHRYSLER
Pin Circuit Wire Color Gauge/Size Function Option
1 K532 VT/GY 0.35 VVL SOLENOID 1/2 CONTROL N/A
2 Z904 BK 0.35 GROUND N/A