LEMON Manuals: Even more car manuals for everyone
Home >> Jeep >> 2021 >> Gladiator Mojave, Part Time T/Case Control, Automatic Trans >> Repair and Diagnosis >> Quick Lookups >> Electrical Component Locations >> Connector End Views And Electrical Component Locations (12 Of 13) >> Solenoid-Locker-Front (Standard) Connector End View (D73A)

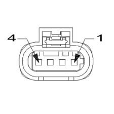
Solenoid-Locker-Front (Standard) Connector End View (D73A)

Harness-Family: Chassis_LT

Color: BLACK

Gender: FEMALE

Part Number: 805-122-582

Part Description: Not Available

Connector No: D73A

Option: Standard

Repair Kit Part Number: 68500924AA

Cavity Count: 4

Fig 1: Solenoid-Locker-Front Connector End View (Standard)
GCWD1006864Courtesy of CHRYSLER
Fig 2: Solenoid-Locker-Front Isometric View (Standard)
GCWD1006835Courtesy of CHRYSLER
Fig 3: Solenoid-Locker-Front Wire Insertion View (Standard)
GCWD1009640Courtesy of CHRYSLER
Fig 4: Solenoid-Locker-Front Component Location View (Standard)
GCWD1318659Courtesy of CHRYSLER
Pin Circuit Wire Color Gauge/Size Function Option
1 F946 PK/GN 0.75 FUSED IGNITION RUN/START CONTROL OUTPUT N/A
2 T522 YE/BU 0.75 FRONT LOCKER SWITCH SENSE N/A
3 T523 YE/BG 0.75 LOCKER SENSOR RETURN N/A
4 T524 YE/GN 0.75 FRONT LOCKER RETURN N/A