LEMON Manuals: Even more car manuals for everyone
Home >> Jeep >> 2021 >> Gladiator Mojave, Part Time T/Case Control, Automatic Trans >> Repair and Diagnosis >> Quick Lookups >> Electrical Component Locations >> Connector End Views And Electrical Component Locations (12 Of 13) >> Solenoid-A/C Compressor (3.6L Gas) Connector End View (D76A)

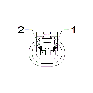
Solenoid-A/C Compressor (3.6L Gas) Connector End View (D76A)

Harness-Family: Powertrain

Color: BLACK

Gender: FEMALE

Part Number: 805-120-532

Part Description: Not Available

Connector No: D76A

Option: 3.6L GAS

Repair Kit Part Number: 68475548AA

Cavity Count: 2

Fig 1: Solenoid-A/c Compressor Connector End View (3.6L GAS)
GCWD1014080Courtesy of CHRYSLER
Fig 2: Solenoid-A/c Compressor Isometric View (3.6L GAS)
GCWD1012295Courtesy of CHRYSLER
Fig 3: Solenoid-A/c Compressor Wire Insertion View (3.6L GAS)
GCWD1010184Courtesy of CHRYSLER
Fig 4: Solenoid-A/c Compressor Component Location View (3.6L GAS)
GCWD1319065Courtesy of CHRYSLER
Pin Circuit Wire Color Gauge/Size Function Option
1 Z907 BK 0.35 GROUND N/A
2 C27 BU/WH 0.50 A/C COMPRESSOR CONTROL N/A