LEMON Manuals: Even more car manuals for everyone
Home >> Jeep >> 2021 >> Gladiator Mojave, Part Time T/Case Control, Automatic Trans >> Repair and Diagnosis >> Quick Lookups >> Electrical Component Locations >> Connector End Views And Electrical Component Locations (11 Of 13) >> Sensor-Occupant Detection (Standard) Connector End View (D2457A)

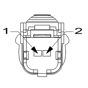
Sensor-Occupant Detection (Standard) Connector End View (D2457A)

Harness-Family: Seat_Cushion_Pass

Color: BLACK

Gender: FEMALE

Part Number: 15514573

Part Description: Not Available

Connector No: D2457A

Option: Standard

Repair Kit Part Number: Not Available

Cavity Count: 2

Fig 1: Sensor-Occupant Detection Connector End View (Standard)
GCWD1009495Courtesy of CHRYSLER
Fig 2: Sensor-Occupant Detection Isometric View (Standard)
GCWD1009339Courtesy of CHRYSLER
Fig 3: Sensor-Occupant Detection Wire Insertion View (Standard)
GCWD1009092Courtesy of CHRYSLER
Fig 4: Sensor-Occupant Detection Component Location View (Standard)
GCWD1318812Courtesy of CHRYSLER
Pin Circuit Wire Color Gauge/Size Function Option
1 R283 BU/DG 0.50 PASSENGER SEAT OCCUPANT DETECTION SIGNAL N/A
2 R730 BU/BK 0.50 PASSENGER SEAT DETECTION RETURN N/A